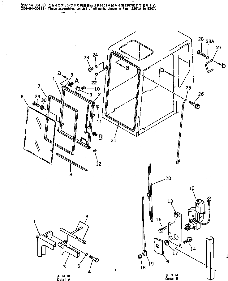
Запчасти Komatsu PC650LC-3 ВЫС. КРЕПЛЕНИЕ КАБИНА (ЗАДН. ОКНА ЖЕСТК.) (/7) (ПЕРЕДН. ОКНА)(№-) ЧАСТИ КОРПУСА

Схема запчастей Komatsu PC650LC-3 - ВЫС. КРЕПЛЕНИЕ КАБИНА (ЗАДН. ОКНА ЖЕСТК.) (/7) (ПЕРЕДН. ОКНА)(№-) ЧАСТИ КОРПУСА
FIT
1:1
100%

Артикул

Название

Примечание

Количество

G-1

21N-54-X1301

OPERATOR'S CAB GROUP

|$2

209-54-00132

OPERATOR'S CAB ASS'Y

|$4

20Y-54-00034

WINDOW ASS'Y

1

20Y-54-14711

WINDOW

2

20Y-54-14681

LATCH ASS'Y

3

20Y-54-14691

LATCH ASS'Y

4

20Y-54-14750

BOLT

5

01643-70823

WASHER

6

20Y-54-11311

GLASS

7

20Y-54-13920

WEATHER STRIP

8

20Y-54-11821

SEAL

9

20Y-54-14310

STRIKER

10

20Y-54-14280

SCREW

11

20Y-54-11580

ROLLER

12

20Y-54-11570

ROLLER

13

20Y-54-11791

BRACKET

14

20Y-54-14360

BOLT

15

20Y-06-11750

MOTOR,WIPER

16

20Y-54-14380

BOLT

17

08037-02512

GROMMET

18

01580-10806

NUT

19

20Y-06-11760

ARM,WIPER

20

20Y-06-11770

BLADE

21

20Y-54-11831

TRIM

22

09415-01008

CAP

23

01220-40412

SCREW

24

01601-20410

WASHER,SPRING

25

20Y-54-11770

GRIP

26

20Y-54-14360

BOLT

27

20Y-54-11783

GRIP

28

20Y-43-12160

BOLT

28A

01643-71032

WASHER

29

20Y-54-14290

STOPPER

30

01580-11008

NUT

Выбрано товаров: 34