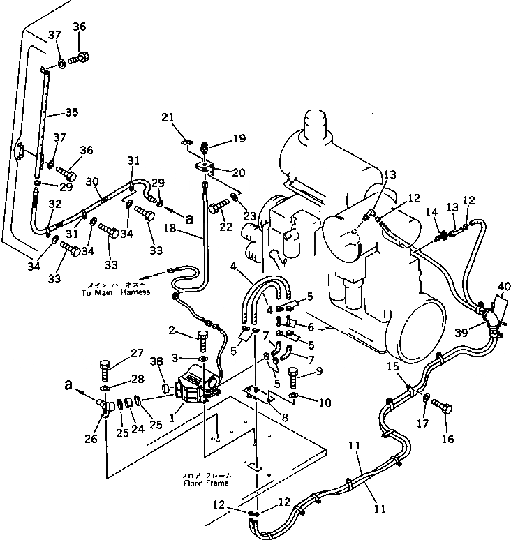
Запчасти Komatsu PC650LC-3 АНТИОБЛЕДЕНИТЕЛЬ(№-8) ЧАСТИ КОРПУСА

Схема запчастей Komatsu PC650LC-3 - АНТИОБЛЕДЕНИТЕЛЬ(№-8) ЧАСТИ КОРПУСА
FIT
1:1
100%

Артикул

Название

Примечание

Количество

G-1

209-977-X100

DEFROSTER GROUP

|$2

205-977-7180

HEATER UNIT

2

01010-51020

BOLT

3

01643-31032

WASHER

4

09483-00407

HOSE

5

07281-00259

CLAMP

6

09484-00450

CONNECTOR

7

09483-20450

HOSE

8

209-977-5110

JOINT

9

01010-51025

BOLT

10

01643-51032

WASHER

11

09483-06670

HOSE

12

07281-00419

CLAMP

13

175-911-4340

JOINT

14

195-911-5591

VALVE

15

195-911-4350

CLIP

16

01010-51225

BOLT

17

01643-31232

WASHER

18

209-977-5140

WIRING HARNESS

19

205-06-71321

SWITCH

20

209-977-5120

BRACKET

21

209-977-5130

PLATE

22

01010-50816

BOLT

23

01643-30823

WASHER

24

198-911-5290

HOSE

25

07281-00709

CLAMP

26

209-977-5210

DUCT

27

01010-51025

BOLT

28

01643-31032

WASHER

29

07281-00419

CLAMP

30

09485-03717

HOSE

31

113-899-7950

CLIP

32

155-911-1790

CLIP

33

01010-51020

BOLT

34

01643-31032

WASHER

35

205-977-7220

NOZZLE

36

01010-51020

BOLT

37

01643-31032

WASHER

38

205-977-7190

CAP

39

205-62-53780

COVER

40

08034-00536

BAND

Выбрано товаров: 41