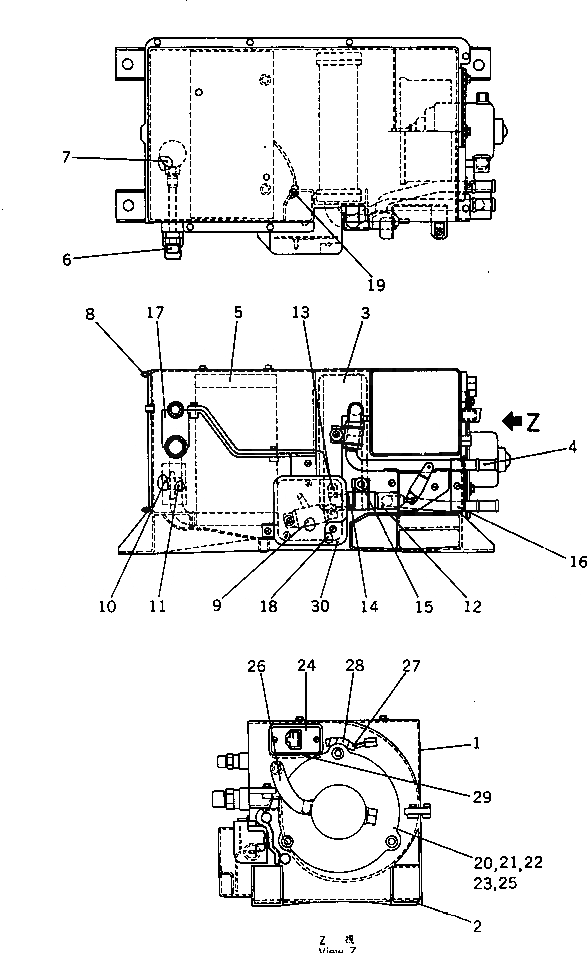
Запчасти Komatsu PC650LC-3 БЛОК ОХЛАЖДЕНИЯ (С КОНДИЦИОНЕРОМ) ЧАСТИ КОРПУСА

Схема запчастей Komatsu PC650LC-3 - БЛОК ОХЛАЖДЕНИЯ (С КОНДИЦИОНЕРОМ) ЧАСТИ КОРПУСА
FIT
1:1
100%

Артикул

Название

Примечание

Количество

G-1

209-979-X100

AIR CONDITIONER G.

|$2

205-979-6110

COOLING UNIT

1

205-979-7010

CASE ASS'Y

2

205-979-7020

CASE ASS'Y

3

205-979-7030

UNIT ASS'Y

4

205-979-7040

PIPE

5

205-979-7050

EVAPORATOR

6

205-979-7060

TUBE

7

205-979-7070

VALVE

8

205-979-7080

FILTER

9

205-979-7090

THERMOSTAT

10

205-979-7100

PACKING

11

205-979-7110

HOLDER

12

205-979-7120

VALVE

13

205-979-7130

CLAMP

14

205-979-7140

HOSE

15

205-979-7150

CLAMP

16

205-979-7160

CLAMP

17

205-979-7170

PLATE

18

205-979-7180

BRACKET

19

205-979-7190

INSULATOR

20

205-979-7200

FAN

21

205-979-7210

NUT

22

205-979-7220

WASHER

23

205-979-7230

MOTOR ASS'Y

24

205-979-7240

RESISTOR

25

205-979-7250

PACKING

26

205-979-7260

PIPE

27

205-979-7270

WIRE

28

205-979-7280

CLAMP

29

205-979-7290

PLATE

30

205-979-7300

COVER

Выбрано товаров: 32