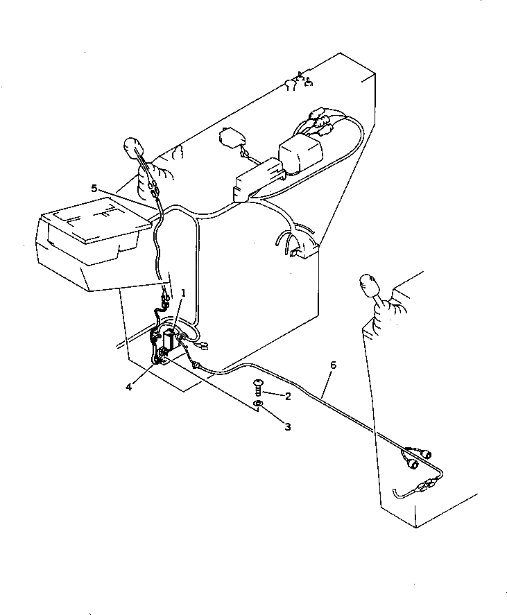
Запчасти Komatsu PC650LC-3 ПАНЕЛЬ ПРИБОРОВ (/) (С FREE ПОВОРОТН.) (КРОМЕ ЯПОН.)(№-7) КОМПОНЕНТЫ ДВИГАТЕЛЯ И ЭЛЕКТРИКА

Схема запчастей Komatsu PC650LC-3 - ПАНЕЛЬ ПРИБОРОВ (/) (С FREE ПОВОРОТН.) (КРОМЕ ЯПОН.)(№-7) КОМПОНЕНТЫ ДВИГАТЕЛЯ И ЭЛЕКТРИКА
FIT
1:1
100%

Артикул

Название

Примечание

Количество

1

209-06-12390

RELAY ASS'Y

2

01220-40416

SCREW

3

01641-40405

WASHER

4

209-06-51140

WIRING HARNESS

5

209-06-51150

WIRING HARNESS

6

209-06-51291

WIRING HARNESS

6

209-06-51290

WIRING HARNESS

Выбрано товаров: 7