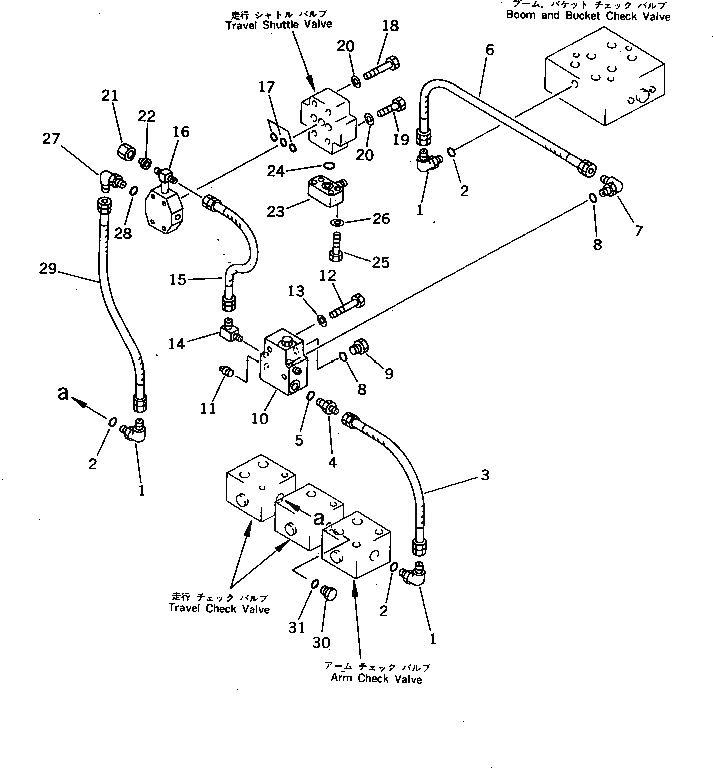
Запчасти Komatsu PC650LC-3 ПРЯМ. ГИДРОЛИНИЯ ХОДА(/) (БЕЗ АВТОМ. ЗАМЕДЛЕНИЕ ОБОРОТОВ) (ДЛЯ ЭКСКАВАТ.)(№-7) УПРАВЛ-Е РАБОЧИМ ОБОРУДОВАНИЕМ

Схема запчастей Komatsu PC650LC-3 - ПРЯМ. ГИДРОЛИНИЯ ХОДА(/) (БЕЗ АВТОМ. ЗАМЕДЛЕНИЕ ОБОРОТОВ) (ДЛЯ ЭКСКАВАТ.)(№-7) УПРАВЛ-Е РАБОЧИМ ОБОРУДОВАНИЕМ
FIT
1:1
100%

Артикул

Название

Примечание

Количество

1

20N-63-66190

ELBOW

2

07002-02034

O-RING

3

07102-20203

HOSE

4

07230-10210

UNION

5

07002-01423

O-RING

6

07102-20205

HOSE

7

07235-10210

ELBOW

8

07002-01423

O-RING

9

07040-11409

PLUG

10

207-60-00060

SHUTTLE VALVE ASS'Y,(SEE FIG.6071)

11

07042-10211

PLUG

12

01010-50860

BOLT

13

01643-30823

WASHER

14

209-62-57750

ELBOW

15

07102-20203

HOSE

16

209-62-57120

TUBE

17

07000-02010

O-RING

18

01010-50855

BOLT

19

01010-50880

BOLT

20

01643-30823

WASHER

21

07221-20210

NUT

22

07222-00210

PLUG

23

209-62-57111

TUBE

24

07000-02016

O-RING

25

01010-50840

BOLT

26

01643-30823

WASHER

27

07235-10210

ELBOW

28

07002-01423

O-RING

29

07102-20205

HOSE

30

07040-12012

PLUG

31

07002-02034

O-RING

Выбрано товаров: 0