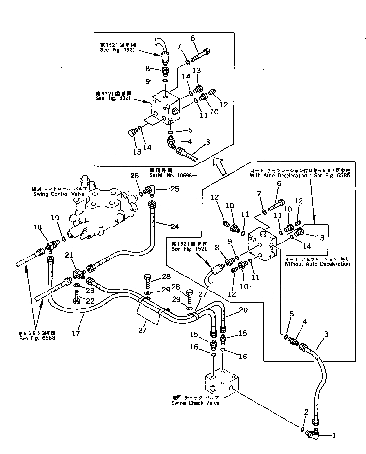
Запчасти Komatsu PC650LC-3 ПОВОРОТН. КОНТРОЛЬНЫЙ КЛАПАНTO/FROM УПРАВЛЯЮЩ. КЛАПАН ТРУБЫ (С FREE ПОВОРОТН.)(№-8) УПРАВЛ-Е РАБОЧИМ ОБОРУДОВАНИЕМ

Схема запчастей Komatsu PC650LC-3 - ПОВОРОТН. КОНТРОЛЬНЫЙ КЛАПАНTO/FROM УПРАВЛЯЮЩ. КЛАПАН ТРУБЫ (С FREE ПОВОРОТН.)(№-8) УПРАВЛ-Е РАБОЧИМ ОБОРУДОВАНИЕМ
FIT
1:1
100%

Артикул

Название

Примечание

Количество

1

20N-63-66190

ELBOW

2

07002-02034

O-RING

3

07102-20203

HOSE

4

07235-10210

ELBOW

4

07230-10210

UNION

5

07002-01423

O-RING

6

01010-51085

BOLT

7

01643-31032

WASHER

8

205-970-2860

PLUG

9

07002-02034

O-RING

10

205-970-2860

PLUG

11

07002-02034

O-RING

12

07042-30108

PLUG

13

07040-12012

PLUG

14

07002-02034

O-RING

15

175-79-82720

NIPPLE

16

07002-02034

O-RING

17

07102-20213

HOSE

G-1

209-60-X2000

FREE SWING GROUP

18

209-62-59130

TEE

19

07002-02034

O-RING

20

07102-20211

HOSE

21

205-62-67420

TEE

22

01010-51045

BOLT

23

01643-31032

WASHER

24

07102-20211

HOSE

25

209-62-57680

ELBOW

26

07002-02034

O-RING

27

175-06-25160

CLIP

28

01010-51225

BOLT

29

01643-31232

WASHER

Выбрано товаров: 0