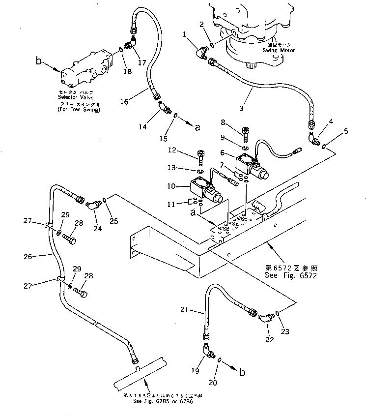
Запчасти Komatsu PC650LC-3 ПОВОРОТН. МЕХАНИЧ. ТОРМОЗНАЯ ГИДРОЛИНИЯ (С FREE ПОВОРОТН.) (КРОМЕ ЯПОН.) УПРАВЛ-Е РАБОЧИМ ОБОРУДОВАНИЕМ

Схема запчастей Komatsu PC650LC-3 - ПОВОРОТН. МЕХАНИЧ. ТОРМОЗНАЯ ГИДРОЛИНИЯ (С FREE ПОВОРОТН.) (КРОМЕ ЯПОН.) УПРАВЛ-Е РАБОЧИМ ОБОРУДОВАНИЕМ
FIT
1:1
100%

Артикул

Название

Примечание

Количество

1

07235-10210

ELBOW

2

07002-01423

O-RING

3

07102-20208

HOSE

4

07236-10210

ELBOW

5

07002-01423

O-RING

6

205-62-74571

VALVE

7

205-62-74580

O-RING

8

01252-40550

BOLT

9

01601-20513

WASHER,SPRING

G-1

209-60-X2000

FREE SWING GROUP

10

205-62-74571

VALVE

11

205-62-74580

O-RING

12

01252-40550

BOLT

13

01601-20513

WASHER,SPRING

14

07236-10210

ELBOW

15

07002-01423

O-RING

16

07102-20206

HOSE

17

07235-10210

ELBOW

18

07002-01423

O-RING

19

07235-10210

ELBOW

20

07002-01423

O-RING

21

07102-20206

HOSE

22

07235-10210

ELBOW

23

07002-01423

O-RING

24

07235-10210

ELBOW

25

07002-01423

O-RING

26

07102-20219

HOSE

27

08036-01414

CLIP

28

01010-51225

BOLT

29

01643-31232

WASHER

Выбрано товаров: 30