Запчасти Komatsu PC650LC-3 РАДИАТОР (С АНТИВАНДАЛЬН.) КОМПОНЕНТЫ ДВИГАТЕЛЯ И ЭЛЕКТРИКА

Схема запчастей Komatsu PC650LC-3 - РАДИАТОР (С АНТИВАНДАЛЬН.) КОМПОНЕНТЫ ДВИГАТЕЛЯ И ЭЛЕКТРИКА
FIT
1:1
100%

Артикул

Название

Примечание

Количество

|$0

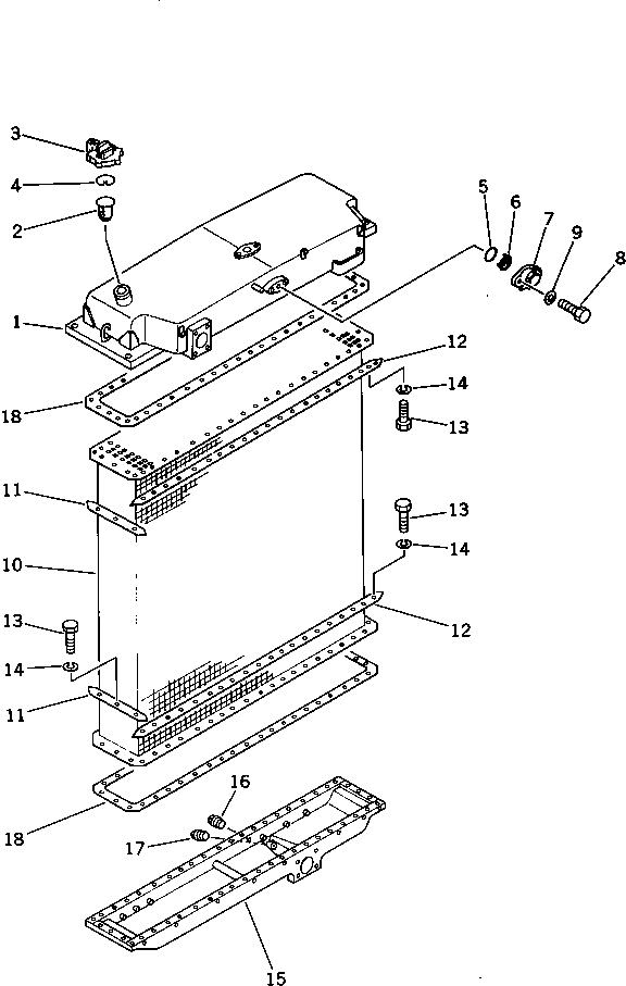
209-03-00110

RADIATOR ASS'Y

|$1

209-03-00120

UPPER TANK ASS'Y

1

209-03-11282

TANK,UPPER

2

07056-00048

STRAINER

G-1

209-54-X4300

VANDALISM GROUP

3

07093-20000

CAP

4

07057-03271

RING,SNAP

5

07000-03045

O-RING

6

175-03-32570

SCREEN

7

154-03-11682

VALVE

8

01010-51025

BOLT

9

01643-31032

WASHER

10

195-03-22131

CORE

11

195-03-11143

PLATE

12

195-03-22260

PLATE

13

01010-51030

BOLT

14

01602-21030

WASHER,SPRING

15

195-03-22120

TANK,LOWER

16

07042-30415

PLUG

17

07042-30108

PLUG

18

195-03-22430

GASKET

Выбрано товаров: 21