Запчасти Komatsu PC650LC-3 ПОВОРОТН. КРУГ ПОВОРОТН. СИСТЕМА

Схема запчастей Komatsu PC650LC-3 - ПОВОРОТН. КРУГ ПОВОРОТН. СИСТЕМА
FIT
1:1
100%

Артикул

Название

Примечание

Количество

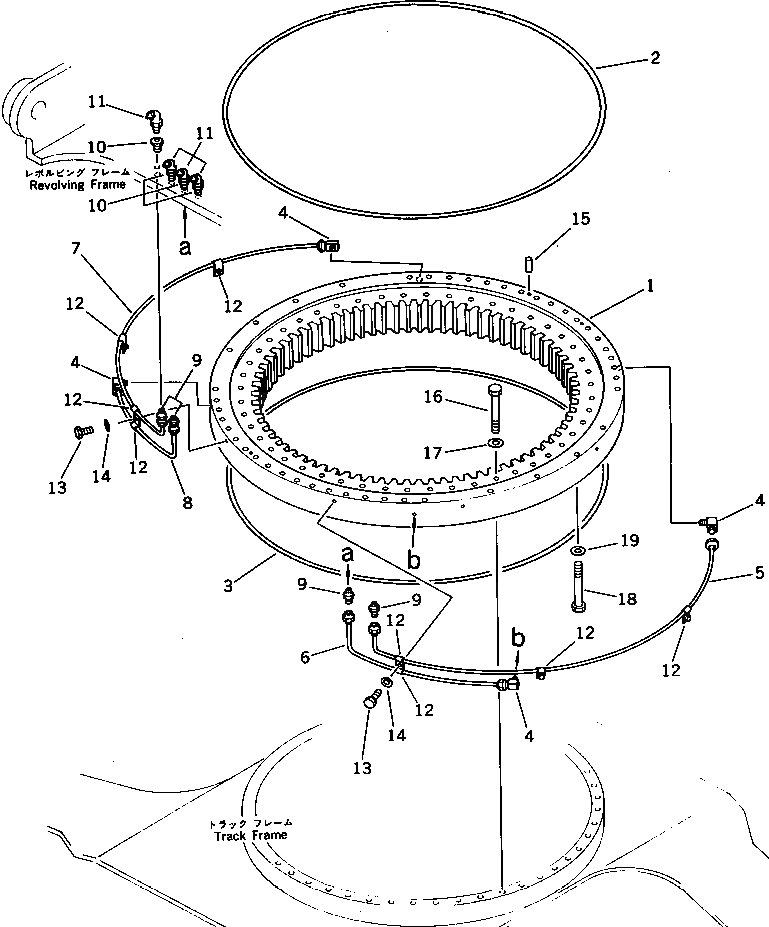
1

209-25-11101

CIRCLE,SWING

2

209-25-11130

SEAL

3

209-25-11160

SEAL

4

20F-36-13230

ELBOW

5

209-25-31110

TUBE,L.H.

6

209-25-31130

TUBE,L.H.

7

209-25-31120

TUBE,R.H.

8

209-25-31140

TUBE,R.H.

9

07213-50813

CONNECTOR

10

07326-10201

ADAPTER

11

07020-00900

FITTING,GREASE

12

08036-00814

CLIP

12

208-01-14120

CLIP

13

01010-51220

BOLT

14

01643-31232

WASHER

15

170-27-12250

PIN,DOWEL

16

209-09-11211

BOLT

17

01643-33080

WASHER

18

209-09-11220

BOLT

19

01643-33080

WASHER

Выбрано товаров: 20