Запчасти Komatsu PC650LC-3 ГИДРОЛИНИЯ ХОДАЧАСТИ КОРПУСА (TWO МОТОР ТИП) (КРОМЕ ЯПОН.) ХОДОВАЯ

Схема запчастей Komatsu PC650LC-3 - ГИДРОЛИНИЯ ХОДАЧАСТИ КОРПУСА (TWO МОТОР ТИП) (КРОМЕ ЯПОН.) ХОДОВАЯ
FIT
1:1
100%

Артикул

Название

Примечание

Количество

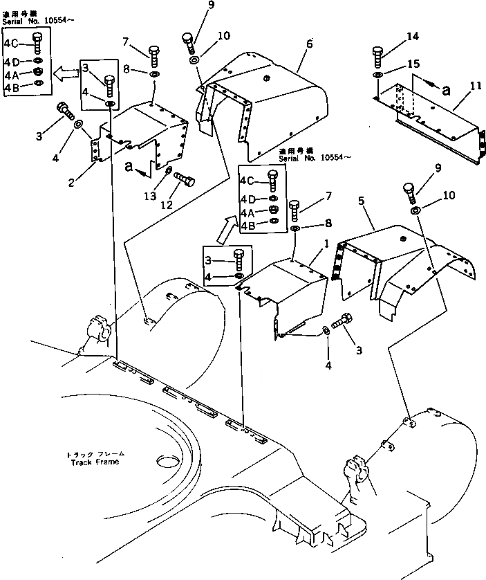
1

209-30-52610

COVER,L.H.

2

209-30-52620

COVER,R.H.

3

01010-51225

BOLT

4

175-54-34170

WASHER

5

205-54-76411

COLLAR

6

01641-21223

WASHER

7

01010-51225

BOLT

7

01010-51230

BOLT

8

01643-31232

WASHER

9

209-30-51512

COVER,L.H.

10

209-30-51522

COVER,R.H.

11

01010-51230

BOLT

12

01643-31232

WASHER

13

01010-51225

BOLT

14

175-54-34170

WASHER

15

209-30-51590

COVER

16

01010-51235

BOLT

17

01643-31232

WASHER

18

205-54-76411

COLLAR

19

01641-21223

WASHER

20

01010-51225

BOLT

21

175-54-34170

WASHER

Выбрано товаров: 0