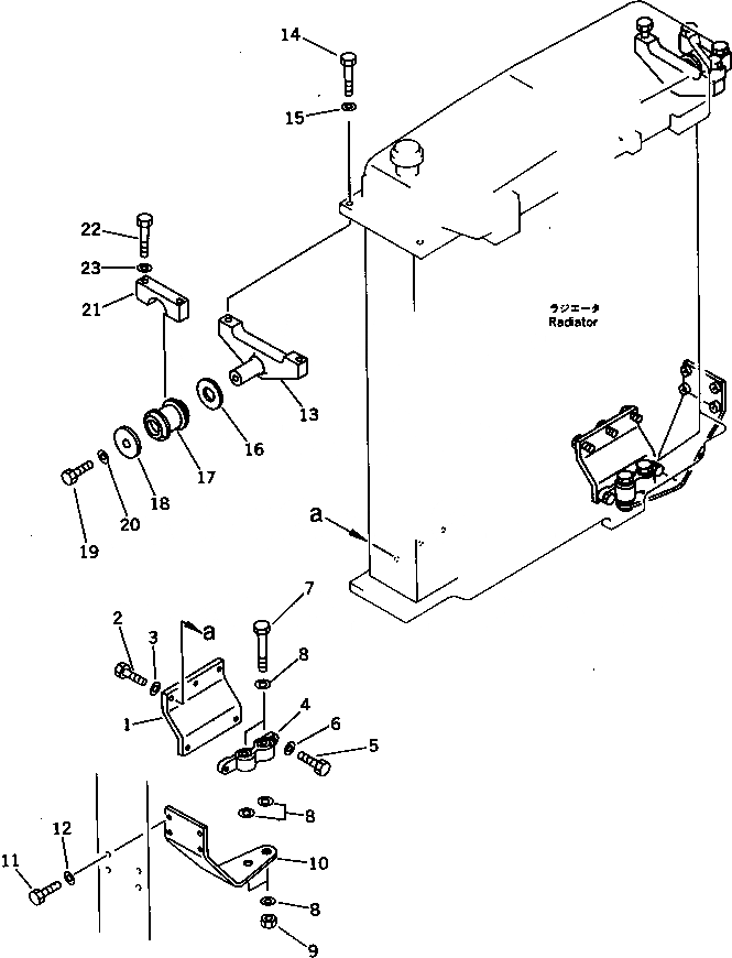
Запчасти Komatsu PC650LC-3 КРЕПЛЕНИЕ РАДИАТОРА КОМПОНЕНТЫ ДВИГАТЕЛЯ И ЭЛЕКТРИКА

Схема запчастей Komatsu PC650LC-3 - КРЕПЛЕНИЕ РАДИАТОРА КОМПОНЕНТЫ ДВИГАТЕЛЯ И ЭЛЕКТРИКА
FIT
1:1
100%

Артикул

Название

Примечание

Количество

1

209-03-21290

SEAT

2

01010-51240

BOLT

3

01643-31232

WASHER

4

195-03-22501

ISOLATOR ASS'Y

5

01010-51240

BOLT

6

01643-31232

WASHER

7

01091-52205

BOLT

8

01643-32260

WASHER

9

01582-12218

NUT

10

209-03-51190

BRACKET

11

01010-51235

BOLT

12

175-54-34170

WASHER

13

209-03-51150

BRACKET

14

01010-51865

BOLT

15

01643-31845

WASHER

16

198-03-51230

PLATE

17

195-03-41440

CUSHION

18

195-03-41260

PLATE

19

01010-51630

BOLT

20

01643-31645

WASHER

21

209-03-51160

CLAMP

22

01010-52090

BOLT

23

01643-32060

WASHER

Выбрано товаров: 23