Запчасти Komatsu PC650LC-5 NO. НАСОС (/) (С -STAGE SELECTOR MODE OLSS) ГИДРАВЛИКА

Схема запчастей Komatsu PC650LC-5 - NO. НАСОС (/) (С -STAGE SELECTOR MODE OLSS) ГИДРАВЛИКА
FIT
1:1
100%

Артикул

Название

Примечание

Количество

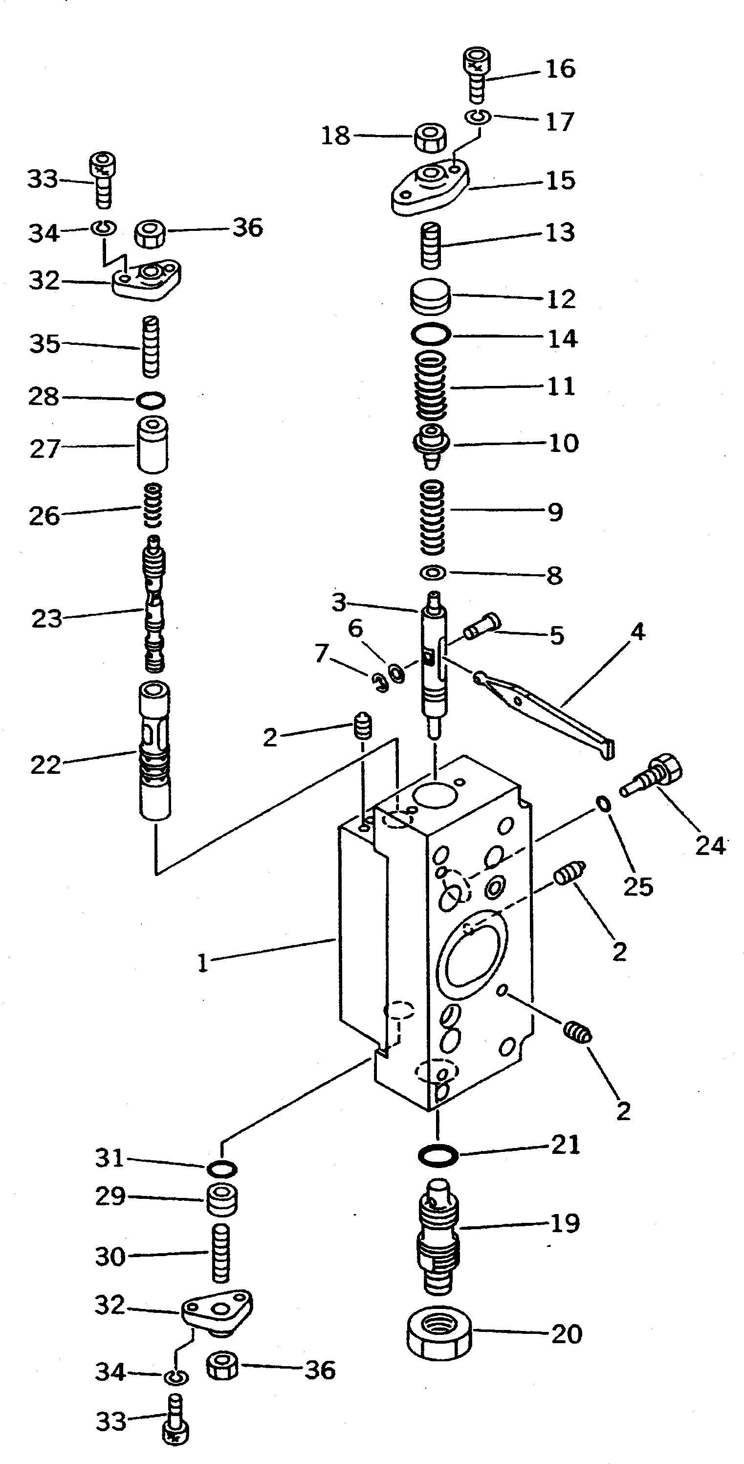
|$2

708-25-04071

PUMP ASS'Y

|$4

708-25-09211

SERVO VALVE ASS'Y,REAR

|$6

708-25-09411

SERVO VALVE SUB A.,REAR

|$7

708-23-00411

BODY ASS'Y

1

BODY

2

EXPANDER

3

708-25-15120

PISTON

4

708-25-15270

ARM

5

708-25-15360

PIN

6

708-25-15370

WASHER

7

708-25-15380

E-RING

8

708-25-15130

SEAT

9

708-25-55130

SPRING

10

708-23-15120

SEAT

11

708-25-55120

SPRING

12

708-23-15160

PLUG

13

708-25-15340

SCREW

14

07000-02018

O-RING

15

708-25-15150

COVER

16

708-25-15320

BOLT

17

01602-20619

WASHER,SPRING

18

01580-01806

NUT

19

708-25-55670

PLUG

20

07239-12009

NUT

21

07002-02034

O-RING

22

708-25-15180

SLEEVE

23

708-25-15280

SPOOL

24

708-25-15260

PLUG

25

07002-00823

O-RING

26

708-25-15310

SPRING

27

708-25-15330

SPACER

28

07000-02012

O-RING

29

708-25-15430

PLUG

30

708-25-15340

SCREW

31

07000-02012

O-RING

32

708-25-15250

COVER

33

708-25-15320

BOLT

34

01602-20619

WASHER,SPRING

35

708-25-15340

SCREW

36

01580-10806

NUT

Выбрано товаров: 40