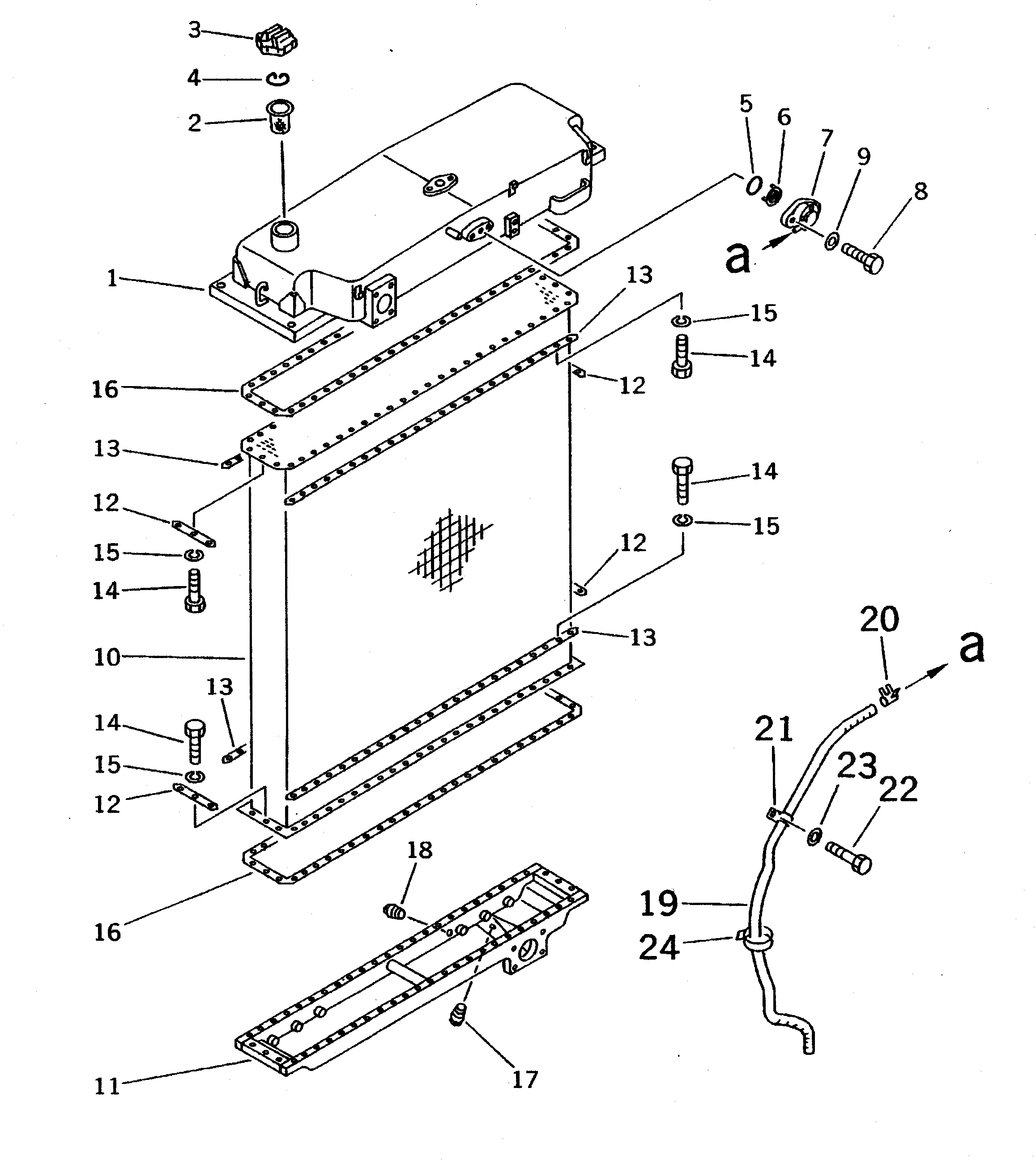
Запчасти Komatsu PC650LC-5 ОХЛАЖД-Е (РАДИАТОР) (КРОМЕ ЯПОН.) СИСТЕМА ОХЛАЖДЕНИЯ

Схема запчастей Komatsu PC650LC-5 - ОХЛАЖД-Е (РАДИАТОР) (КРОМЕ ЯПОН.) СИСТЕМА ОХЛАЖДЕНИЯ
FIT
1:1
100%

Артикул

Название

Примечание

Количество

|$1

209-03-00171

RADIATOR ASS'Y

|$2

209-03-00170

RADIATOR ASS'Y

|$3

209-03-00090

UPPER TANK ASS'Y

1

209-03-11282

TANK

2

07056-00048

STRAINER

3

07053-10000

CAP

4

07057-03271

RING

5

07000-03045

O-RING

6

175-03-32570

SCREEN

7

154-03-11682

VALVE

8

01010-51025

BOLT

9

01643-31032

WASHER

10

195-03-22131

CORE

11

209-03-61130

TANK

12

195-03-11143

PLATE

13

195-03-22260

PLATE

14

01010-51030

BOLT

15

01602-21030

WASHER

16

195-03-22431

GASKET

16

195-03-22430

GASKET

17

07042-30108

PLUG

18

07042-30415

PLUG

19

195-03-17880

TUBE

20

07285-00095

CLIP

21

195-03-11690

CLIP

22

01010-51225

BOLT

23

01643-31232

WASHER

24

08034-00536

BAND

Выбрано товаров: 28