Запчасти Komatsu PC650LC-5 СЪЕМ ПРОТИВОВЕСА ТРУБЫ (НАСОС ПОДАЮЩ. ТРУБЫ) ГИДРАВЛИКА

Схема запчастей Komatsu PC650LC-5 - СЪЕМ ПРОТИВОВЕСА ТРУБЫ (НАСОС ПОДАЮЩ. ТРУБЫ) ГИДРАВЛИКА
FIT
1:1
100%

Артикул

Название

Примечание

Количество

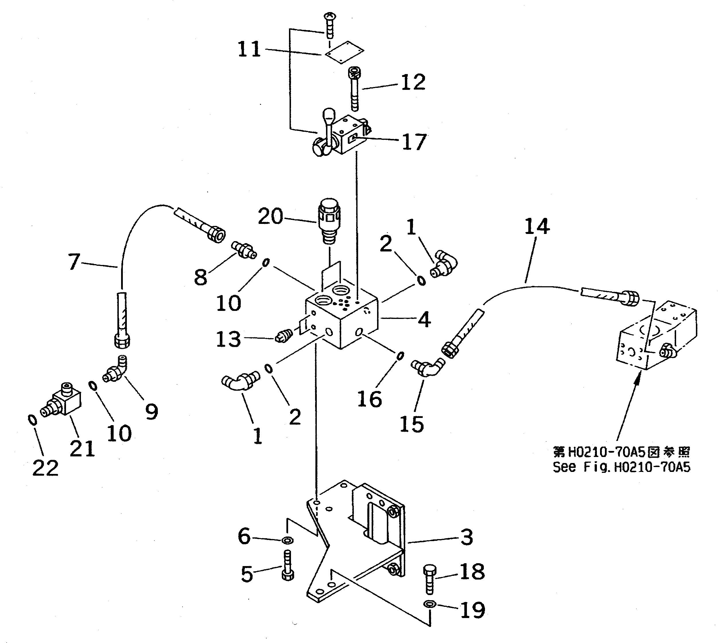
1

07235-10315

ELBOW

2

07002-12034

O-RING

3

209-62-52620

BRACKET

4

209-62-52590

BLOCK

5

01010-51230

BOLT

6

01643-31232

WASHER

7

07096-00306

HOSE

8

07230-20315

UNION

9

07235-10315

ELBOW

10

07002-12034

O-RING

11

207-62-32830

VALVE

12

01252-40550

BOLT

13

07042-30108

PLUG

14

07096-00307

HOSE

15

07235-10315

ELBOW

16

07002-12034

O-RING

17

209-00-52410

PLATE

18

01010-51230

BOLT

19

01643-31232

WASHER

20

709-90-62100

SAFETY VALVE ASS'Y

21

209-62-52680

ELBOW

22

07002-12434

O-RING

Выбрано товаров: 22