Запчасти Komatsu PC650LC-5 КАБИНА (ЗАМОК ДВЕРИ) (ДЛЯ СТРАН ЕСКАНАТ)(№79-) КАБИНА ОПЕРАТОРА И СИСТЕМА УПРАВЛЕНИЯ

Схема запчастей Komatsu PC650LC-5 - КАБИНА (ЗАМОК ДВЕРИ) (ДЛЯ СТРАН ЕСКАНАТ)(№79-) КАБИНА ОПЕРАТОРА И СИСТЕМА УПРАВЛЕНИЯ
FIT
1:1
100%

Артикул

Название

Примечание

Количество

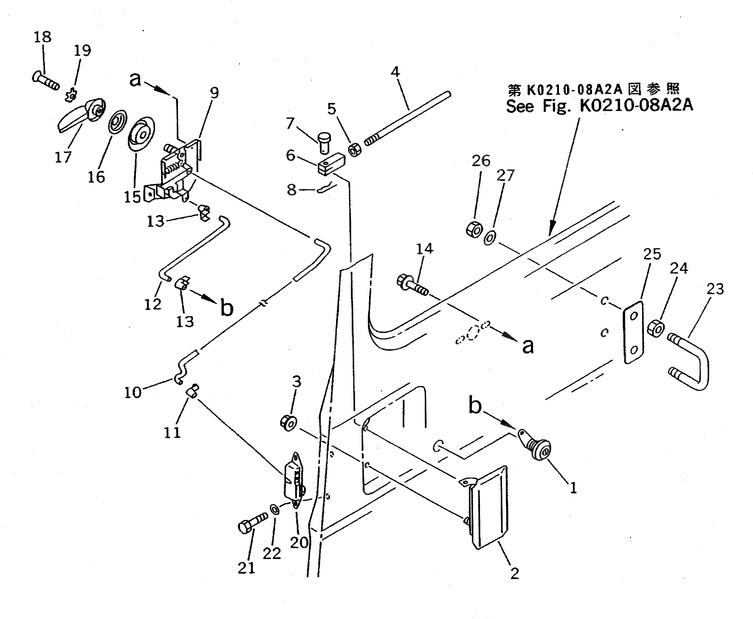
1

209-54-00181

OPERATOR'S CAB ASS'Y

1

209-54-00180

OPERATOR'S CAB ASS'Y

1

209-54-00170

DOOR ASS'Y

1

205-54-71642

LOCK ASS'Y

2

205-54-72102

HANDLE ASS'Y

3

01584-00605

NUT

4

20Y-54-11710

ROD

5

01584-00605

NUT

6

04211-20634

YOKE

7

04205-10620

PIN

8

04052-00633

PIN

|$15

20Y-54-11701

CONTROL ASS'Y

9

20Y-54-13861

REMOTE CONTROL A.

10

20Y-54-11720

ROD

11

205-54-71840

SNAP

12

20Y-54-11730

ROD

13

205-54-71830

SNAP

14

01435-00616

BOLT

15

566-54-24260

BASE

16

566-54-24270

ESCUTCHEON

17

20Y-54-13390

HANDLE

18

01225-70510

SCREW

19

205-54-71880

WASHER

20

20Y-54-14520

LOCK ASS'Y

21

01010-D0616

BOLT

22

01643-70623

WASHER

23

20Y-54-11813

STRIKER

24

01581-01008

NUT

25

209-54-61780

PLATE

26

01580-11008

NUT

27

01643-31032

WASHER

Выбрано товаров: 31