Запчасти Komatsu PC650LC-5 ПОВОРОТН. КРУГ (ДЛЯ АВТОМАТИЧ. СМАЗ.) ПОВОРОТН. КРУГ И КОМПОНЕНТЫ

Схема запчастей Komatsu PC650LC-5 - ПОВОРОТН. КРУГ (ДЛЯ АВТОМАТИЧ. СМАЗ.) ПОВОРОТН. КРУГ И КОМПОНЕНТЫ
FIT
1:1
100%

Артикул

Название

Примечание

Количество

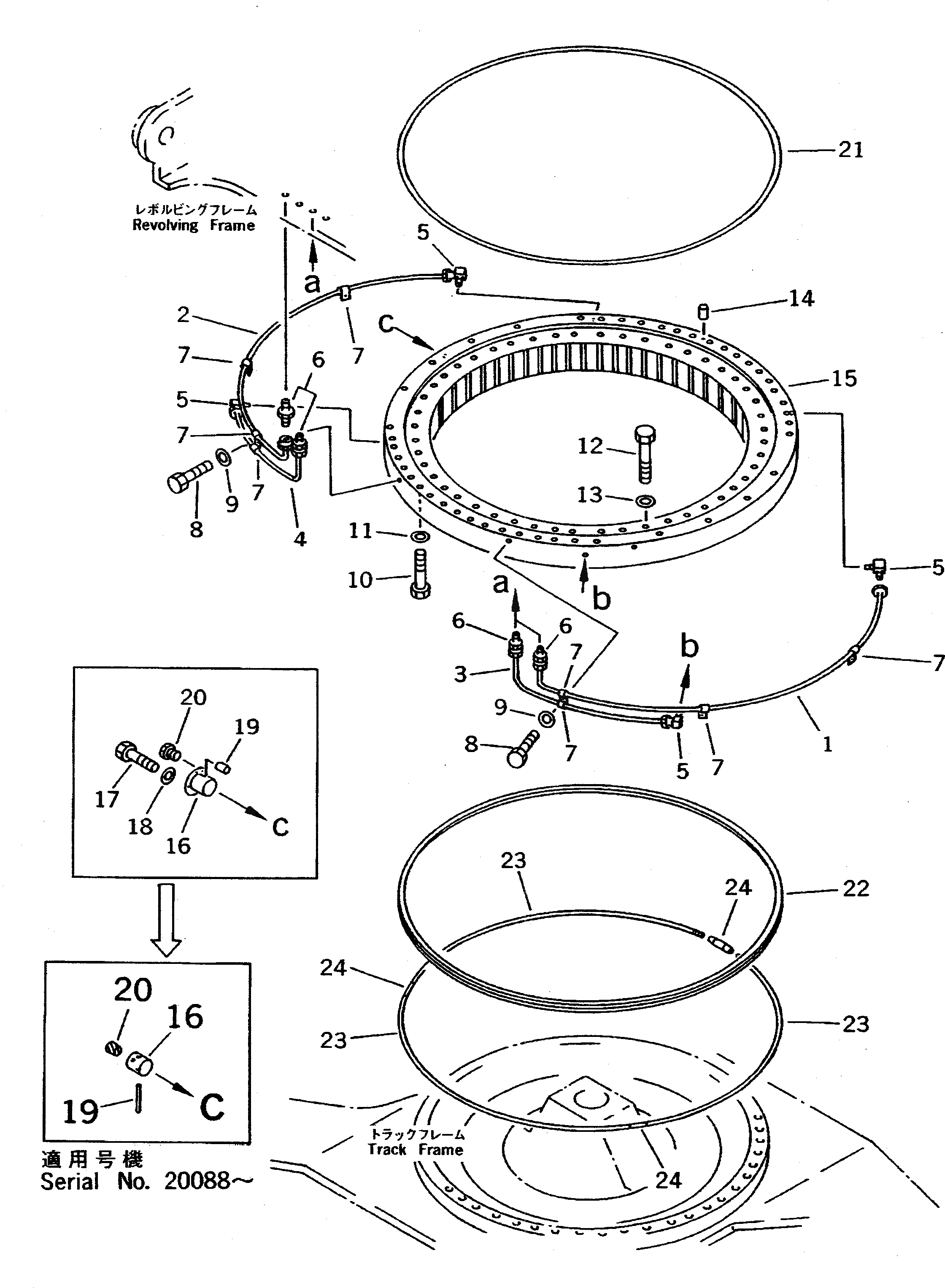
1

209-25-31110

TUBE,L.H.

2

209-25-31120

TUBE,R.H.

3

209-25-31130

TUBE,L.H.

4

209-25-31140

TUBE,R.H.

5

207-70-11740

ELBOW

5

20F-36-13230

ELBOW

6

07213-50813

CONNECTOR

7

08036-00814

CLIP

8

01010-51220

BOLT

9

01643-31232

WASHER

10

209-09-11220

BOLT

11

01643-33080

WASHER

12

209-09-11211

BOLT

13

01643-33080

WASHER

14

170-27-12250

PIN,DOWEL

15

209-25-61100

CIRCLE,SWING

16

PLUG

16

PLUG

17

01010-51635

BOLT

18

01643-31645

WASHER

19

209-25-61220

PIN

19

04020-01228

PIN

20

07049-01012

PLUG

20

07049-01620

PLUG

21

209-25-61160

SEAL

22

209-25-61170

SEAL

23

209-25-61180

WIRE

24

209-25-61190

JOINT

Выбрано товаров: 28