Запчасти Komatsu PC650LC-5 ЦЕНТР. РАМА(№99-) ХОДОВАЯ

Схема запчастей Komatsu PC650LC-5 - ЦЕНТР. РАМА(№99-) ХОДОВАЯ
FIT
1:1
100%

Артикул

Название

Примечание

Количество

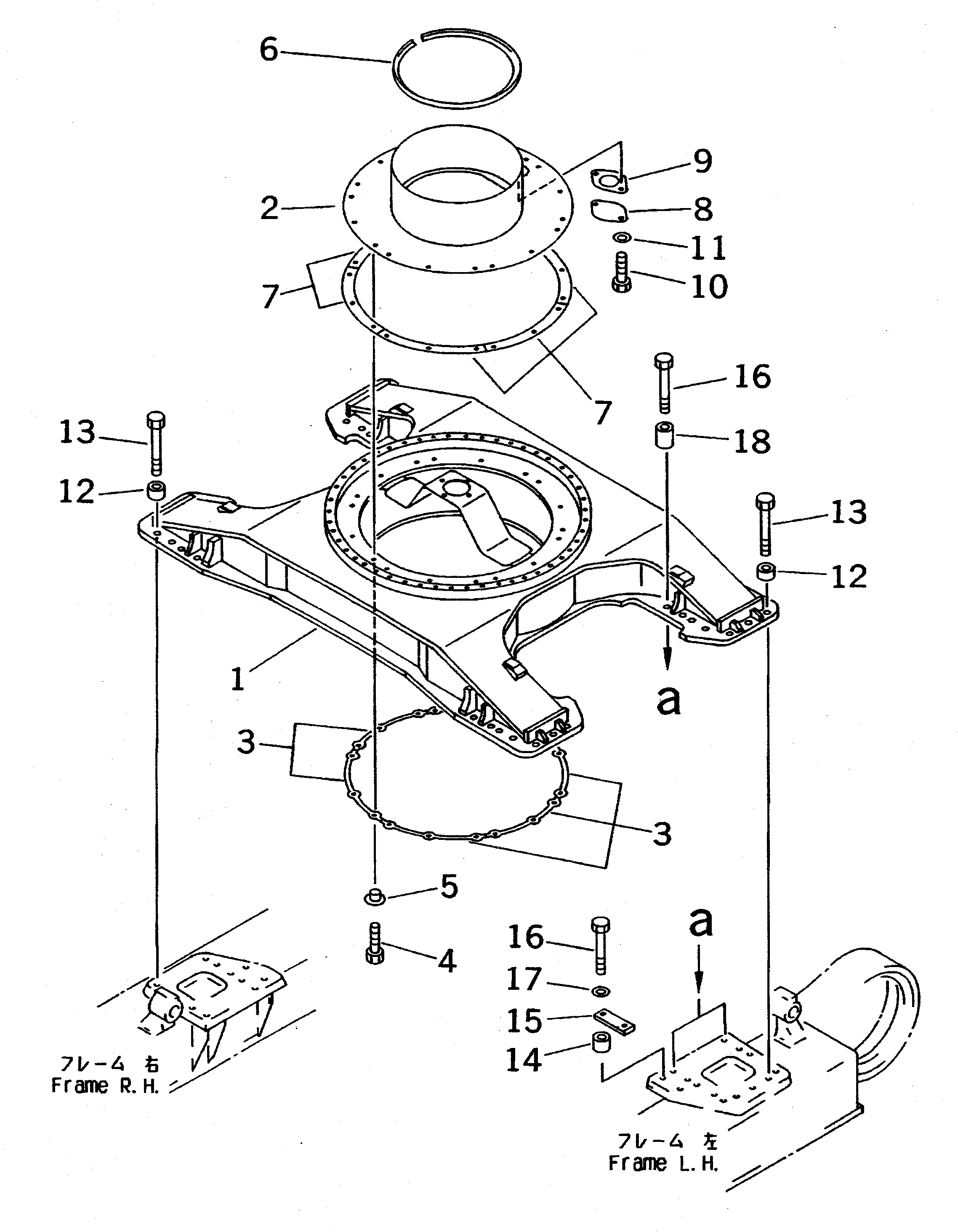
1

209-30-61116

FRAME

1

209-30-61115

FRAME

1

209-30-61114

FRAME

1

209-62-64220

SEAT

2

209-30-61150

COVER

3

209-30-61170

SEAL

4

01010-51240

BOLT

5

198-03-18740

COLLAR

6

209-30-61160

SEAL

7

209-30-61180

PLATE

8

205-30-71181

COVER

9

205-30-71191

GASKET

10

01010-51225

BOLT

11

01643-31232

WASHER

12

209-30-61120

SPACER

13

209-09-51110

BOLT

14

209-30-11320

COLLAR

15

209-30-61130

PLATE

16

209-09-61110

BOLT

17

01643-33690

WASHER

18

209-30-61140

SPACER

Выбрано товаров: 21