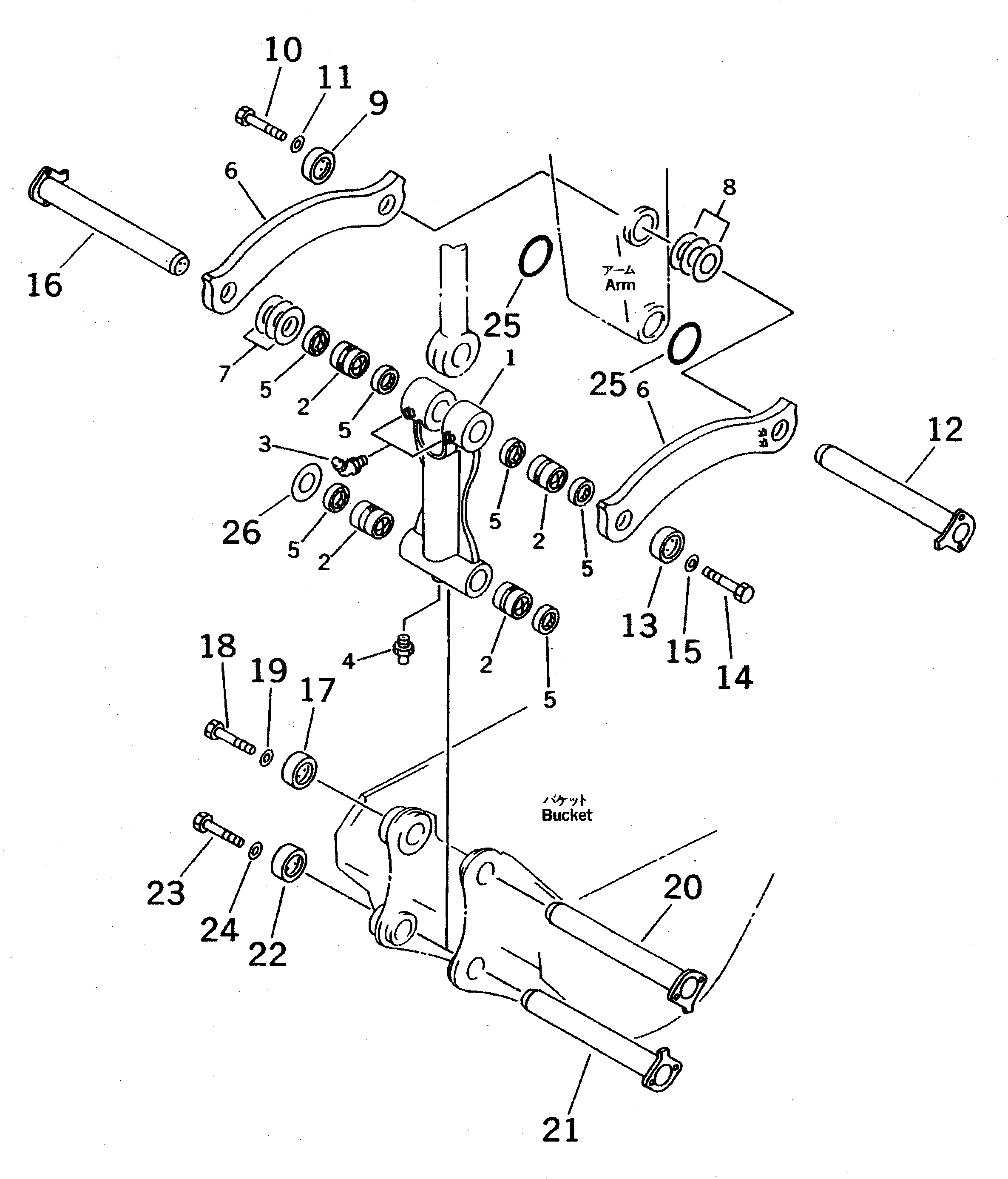
Запчасти Komatsu PC650LC-5 СОЕДИНЕНИЕ КОВША (ДЛЯ .9M РУКОЯТЬ) (ЭКСКАВАТ.) РАБОЧЕЕ ОБОРУДОВАНИЕ

Схема запчастей Komatsu PC650LC-5 - СОЕДИНЕНИЕ КОВША (ДЛЯ .9M РУКОЯТЬ) (ЭКСКАВАТ.) РАБОЧЕЕ ОБОРУДОВАНИЕ
FIT
1:1
100%

Артикул

Название

Примечание

Количество

|$1

209-944-0030

LINK ASS'Y

1

LINK

2

209-72-53170

BUSHING

3

07020-00675

FITTING

4

07020-00000

FITTING

5

209-72-12211

SEAL

6

209-944-5320

LINK

7

209-72-11220

SHIM, 1.0MM

8

209-72-11220

SHIM, 1.0MM

9

209-70-53181

STOPPER

10

01010-52460

BOLT

11

01643-32460

WASHER

12

209-70-53141

PIN

13

209-70-53181

STOPPER

14

01010-52460

BOLT

15

01643-32460

WASHER

16

209-70-53141

PIN

17

209-70-53181

STOPPER

18

01010-52460

BOLT

19

01643-32460

WASHER

20

209-70-53170

PIN

21

209-70-53131

PIN

22

209-70-53181

STOPPER

23

01010-52460

BOLT

24

01643-32460

WASHER

25

209-70-53150

O-RING

26

209-72-11220

SHIM, 1.0MM

Выбрано товаров: 27