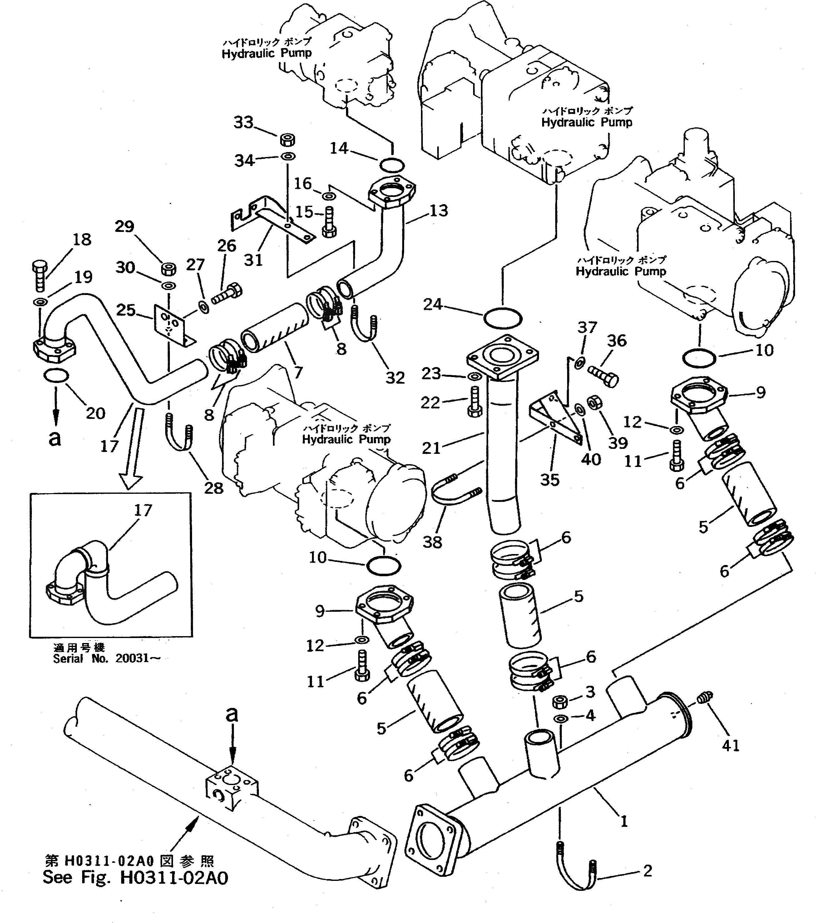
Запчасти Komatsu PC650LC-5 ВСАСЫВ. ТРУБЫ (ЛЕВ. ДЕКА) ГИДРАВЛИКА

Схема запчастей Komatsu PC650LC-5 - ВСАСЫВ. ТРУБЫ (ЛЕВ. ДЕКА) ГИДРАВЛИКА
FIT
1:1
100%

Артикул

Название

Примечание

Количество

1

209-62-55241

TUBE

2

07283-21193

CLIP

3

01599-01214

NUT

4

01643-31232

WASHER

5

07260-07420

HOSE

|5

07260-27420

HOSE

6

07289-00095

CLAMP

|6

20D-09-11130

CLAMP

7

07260-05820

HOSE

|7

07260-25820

HOSE

8

205-09-61120

CLAMP

9

209-62-55250

TUBE

10

07000-02085

O-RING

11

01010-51240

BOLT

12

01643-31232

WASHER

13

209-62-55271

TUBE

14

07000-02060

O-RING

15

01010-51240

BOLT

16

01643-31232

WASHER

17

209-62-55331

TUBE

|17

209-62-55330

TUBE

18

01010-51240

BOLT

19

01643-31232

WASHER

20

07000-02060

O-RING

21

209-62-55311

TUBE

22

01010-51240

BOLT

23

01643-31232

WASHER

24

07000-02095

O-RING

25

209-62-55320

BRACKET

26

01010-51230

BOLT

27

175-03-32560

SPACER

28

07283-26155

CLIP

29

01599-01011

NUT

30

01643-31032

WASHER

31

209-62-55340

BRACKET

32

07283-26155

CLIP

33

01599-01011

NUT

34

01643-31032

WASHER

35

21T-62-75270

BRACKET

36

01010-51230

BOLT

37

01643-31232

WASHER

38

07283-27671

CLIP

39

01599-01011

NUT

40

01643-31032

WASHER

41

07042-30211

PLUG

Выбрано товаров: 45