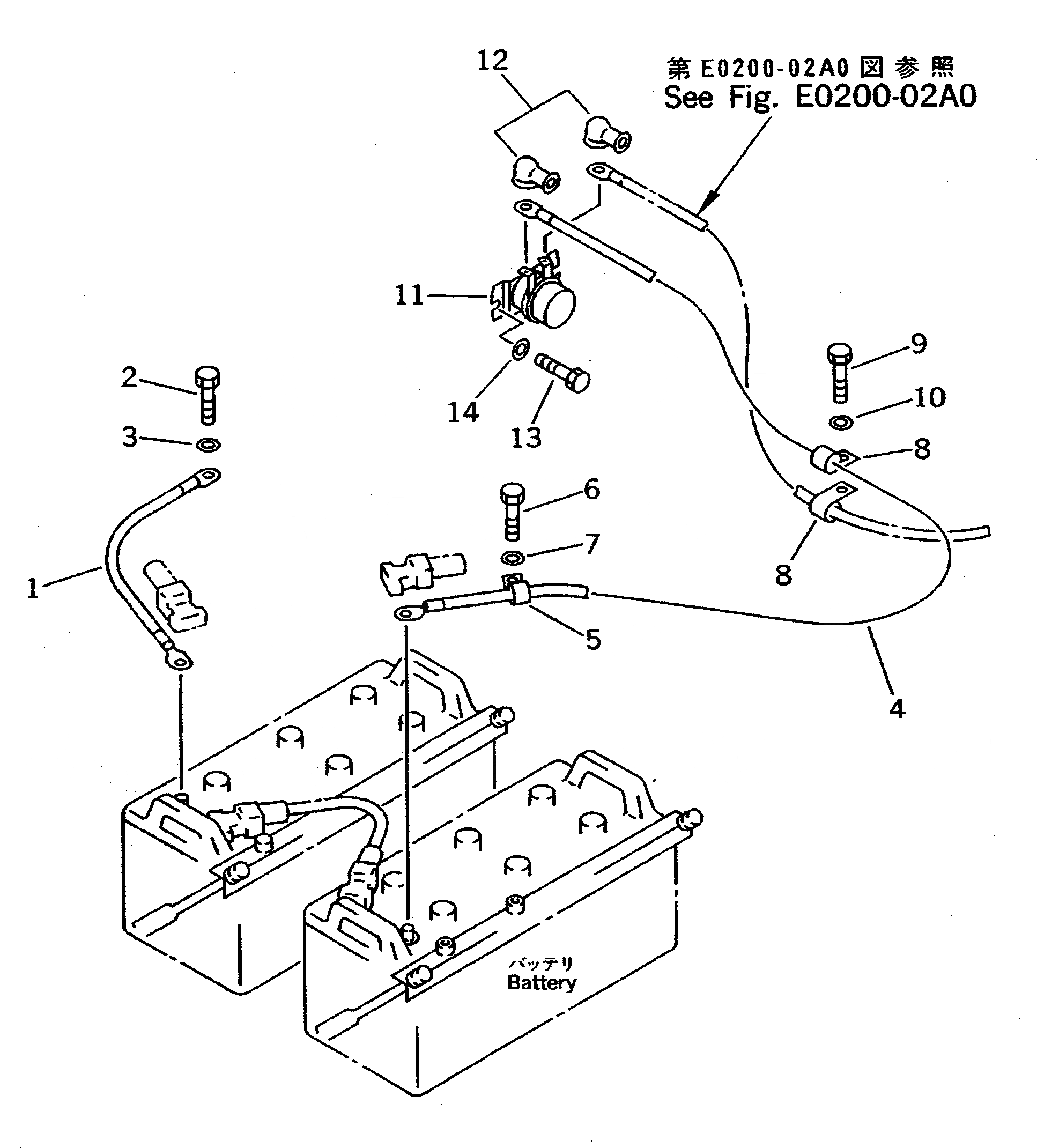
Запчасти Komatsu PC650LC-5 ЭЛЕКТРИКА (ОСНОВН. Э/ПРОВОДКА) (АККУМУЛЯТОРН. ОТСЕК) ЭЛЕКТРИКА

Схема запчастей Komatsu PC650LC-5 - ЭЛЕКТРИКА (ОСНОВН. Э/ПРОВОДКА) (АККУМУЛЯТОРН. ОТСЕК) ЭЛЕКТРИКА
FIT
1:1
100%

Артикул

Название

Примечание

Количество

1

08028-45035

CABLE

2

01010-51020

BOLT

3

01643-31032

WASHER

4

209-06-61371

CABLE

|4

209-06-61370

CABLE

5

08036-02514

CLIP

6

01010-51020

BOLT

7

01643-31032

WASHER

8

08036-02514

CLIP

9

01010-51025

BOLT

10

01643-31032

WASHER

11

08088-30000

SWITCH

12

08038-00035

CAP

13

01010-50830

BOLT

14

01643-30823

WASHER

Выбрано товаров: 15