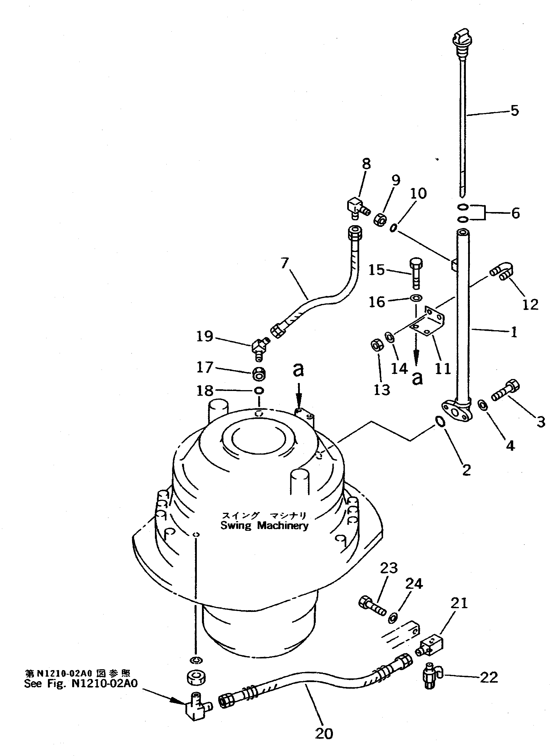
Запчасти Komatsu PC650LC-5 МЕХАНИЗМ ПОВОРОТА (УРОВЕНЬ GAUGE И ДРЕНАЖНЫЕ ПАТРУБКИ) ПОВОРОТН. КРУГ И КОМПОНЕНТЫ

Схема запчастей Komatsu PC650LC-5 - МЕХАНИЗМ ПОВОРОТА (УРОВЕНЬ GAUGE И ДРЕНАЖНЫЕ ПАТРУБКИ) ПОВОРОТН. КРУГ И КОМПОНЕНТЫ
FIT
1:1
100%

Артикул

Название

Примечание

Количество

1

209-26-51250

TUBE

2

07000-03035

O-RING

3

01010-51445

BOLT

4

01643-31445

WASHER

5

209-26-51260

GAUGE

6

07000-03022

O-RING

7

07102-20304

HOSE

8

07232-20315

ELBOW

9

07239-22009

NUT

10

07002-32034

O-RING

11

209-26-51271

BRACKET

12

07283-23442

CLIP

13

01599-01011

NUT

14

01643-31032

WASHER

15

01010-51225

BOLT

16

01643-31232

WASHER

17

07239-22009

NUT

18

07002-32034

O-RING

19

07232-20315

ELBOW

20

07103-20605

HOSE

21

209-26-51280

ELBOW

22

07730-40004

VALVE

23

01010-51225

BOLT

24

01643-31232

WASHER

Выбрано товаров: 24