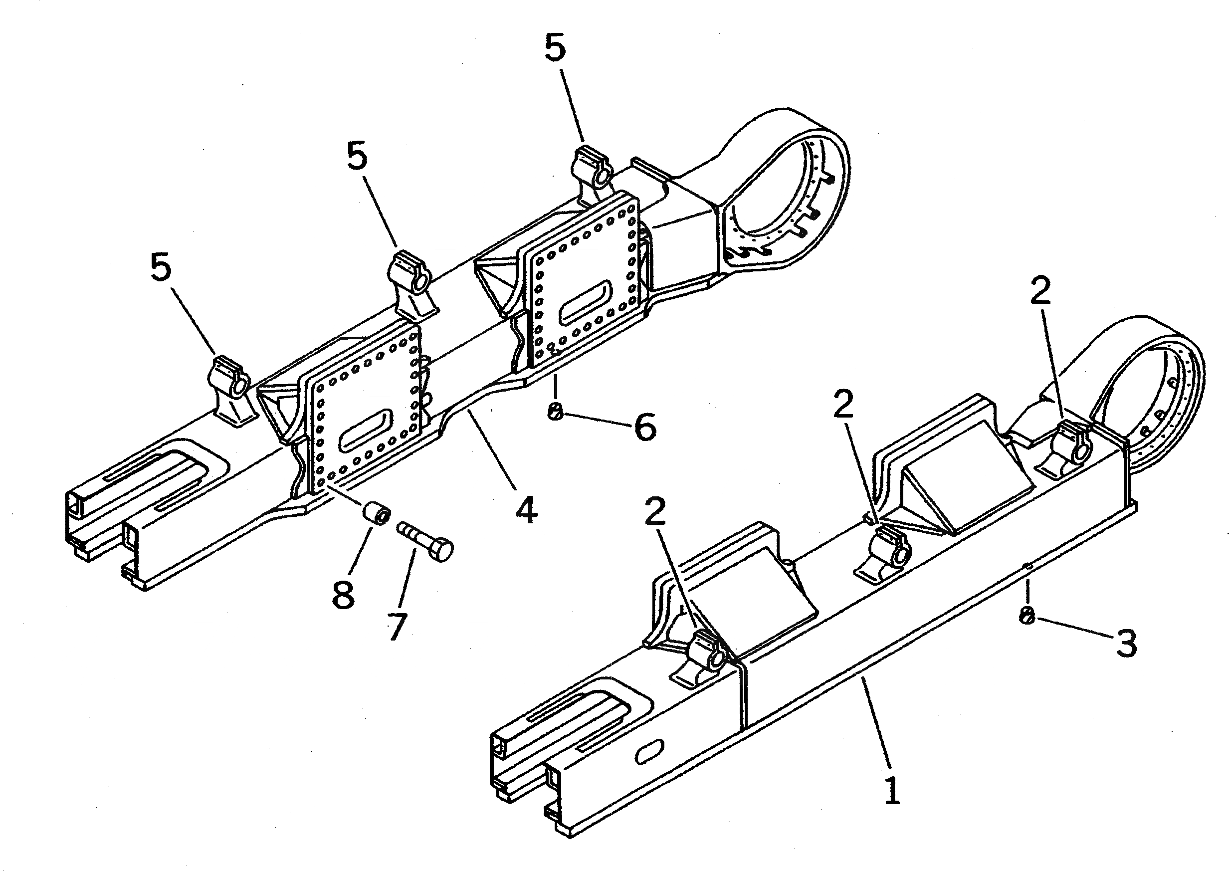
Запчасти Komatsu PC650LC-5 ГУСЕНИЧНАЯ РАМА (ДЛЯ KAWASAKI JYUUKOU) ХОДОВАЯ

Схема запчастей Komatsu PC650LC-5 - ГУСЕНИЧНАЯ РАМА (ДЛЯ KAWASAKI JYUUKOU) ХОДОВАЯ
FIT
1:1
100%

Артикул

Название

Примечание

Количество

1

209-30-66210

FRAME,L.H.

2

209-30-51150

SUPPORT

3

07049-02430

PLUG

|3

07049-02430

PLUG

4

209-30-66220

FRAME,R.H.

5

209-30-51150

SUPPORT

6

07049-02430

PLUG

|6

07049-02430

PLUG

7

21N-30-11180

BOLT

8

21N-30-11160

COLLAR

9

01643-33990

WASHER

Выбрано товаров: 0