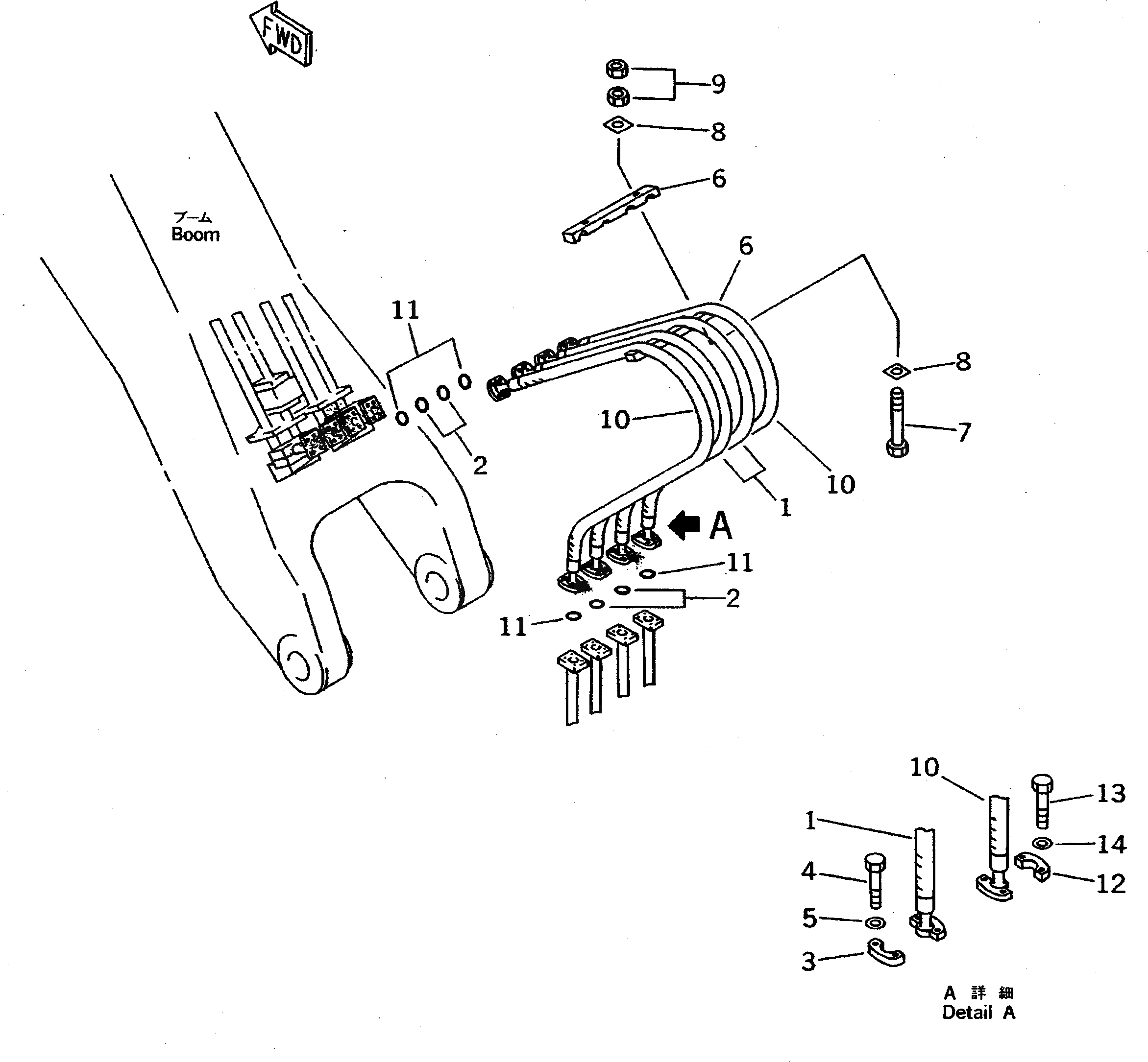
Запчасти Komatsu PC650LC-5 СТРЕЛА (ШЛАНГИ) (ЭКСКАВАТ.) РАБОЧЕЕ ОБОРУДОВАНИЕ
FIT
1:1
100%
№
Артикул
Название
Примечание
Количество
1
07099-01427
HOSE
2
07000-13048
O-RING
3
07371-51470
FLANGE
4
01010-51455
BOLT
5
01643-31445
WASHER
6
209-62-58440
CLAMP
7
01011-51030
BOLT
8
01678-21029
WASHER
9
01580-11008
NUT
10
07099-01427
HOSE
11
07000-13048
O-RING
12
07371-51470
FLANGE
13
01010-51455
BOLT
14
01643-31445
WASHER
Выбрано товаров: 0