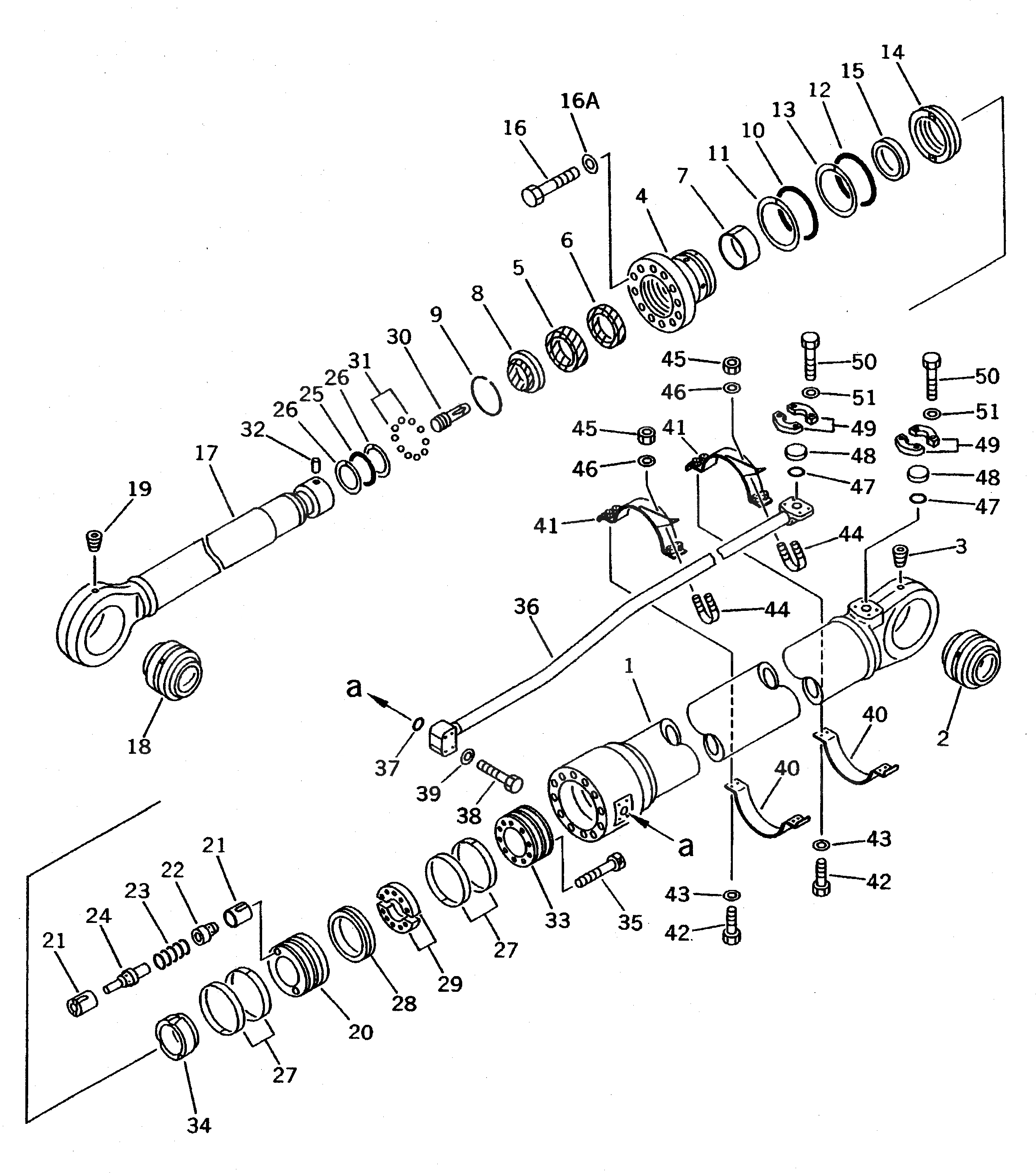
Запчасти Komatsu PC650LC-5 ЦИЛИНДР РУКОЯТИ(ЭКСКАВАТ.) РАБОЧЕЕ ОБОРУДОВАНИЕ

Схема запчастей Komatsu PC650LC-5 - ЦИЛИНДР РУКОЯТИ(ЭКСКАВАТ.) РАБОЧЕЕ ОБОРУДОВАНИЕ
FIT
1:1
100%

Артикул

Название

Примечание

Количество

G-1

209-63-X2120

ARM CYLINDER GROUP

|1

209-63-02120

CYLINDER ASS'Y

1

209-63-62540

CYLINDER

2

707-46-13010

BUSHING

3

07043-00108

PLUG

4

707-28-20720

HEAD,CYLINDER

5

707-51-14130

PACKING,ROD (KIT)

6

707-51-14630

RING,BUFFER (KIT)

7

707-52-91150

BUSHING

8

198-63-93170

SEAL,DUST (KIT)

9

07179-14160

RING,SNAP

10

07000-15195

O-RING (KIT)

11

707-35-92050

RING,BACK-UP (KIT)

12

07000-15195

O-RING (KIT)

13

07001-05195

RING,BACK-UP (KIT)

14

707-71-31460

COLLAR

15

707-71-11450

RING

16

01011-82700

BOLT

16A

01643-32780

WASHER

17

209-63-62520

ROD,PISTON

18

707-46-11520

BUSHING

19

07043-00108

PLUG

|20

707-91-02081

PISTON ASS'Y

20

PISTON

21

SEAT

22

VALVE

23

SPRING

24

VALVE

25

07000-12115

O-RING

26

707-35-52860

RING,BACK-UP

27

707-39-20820

RING,WEAR (KIT)

28

707-44-20180

RING,PISTON (KIT)

29

707-40-20970

SPACER

30

707-71-50390

PLUNGER

31

04260-01270

BALL

32

707-71-91360

PIN

33

707-37-20020

PISTON

34

707-71-61410

PLUNGER

35

01252-31490

BOLT

36

209-63-62570

TUBE

37

07000-13038

O-RING (KIT)

38

01010-51280

BOLT

39

01643-31232

WASHER

40

707-88-96110

BAND

41

707-88-96130

BAND

42

01010-51240

BOLT

43

01643-31232

WASHER

44

07283-34346

CLIP

45

01599-01011

NUT

46

01643-31032

WASHER

47

07000-13048

O-RING (KIT)

48

07378-11410

HEAD

49

07371-51470

FLANGE

50

01010-51455

BOLT

51

01643-31445

WASHER

Выбрано товаров: 0