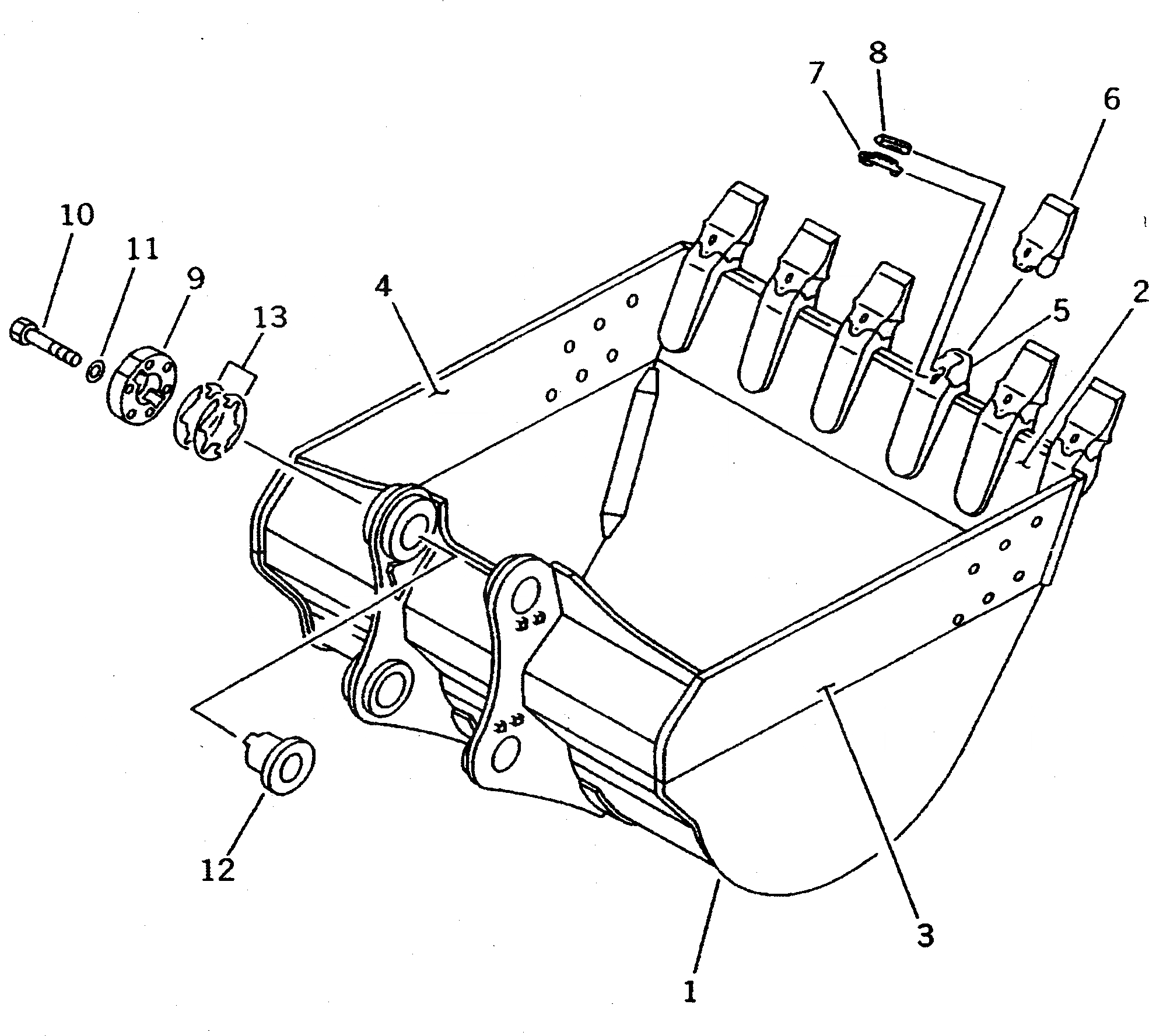
Запчасти Komatsu PC650LC-5 .M¤ ВЕРТИКАЛЬН. ПАЛЕЦ КОВШ¤ 9MM РАБОЧЕЕ ОБОРУДОВАНИЕ

Схема запчастей Komatsu PC650LC-5 - .M¤ ВЕРТИКАЛЬН. ПАЛЕЦ КОВШ¤ 9MM РАБОЧЕЕ ОБОРУДОВАНИЕ
FIT
1:1
100%

Артикул

Название

Примечание

Количество

1

209-920-5221

BUCKET

2

209-920-5320

PLATE (WELDED)

3

209-70-54121

PLATE,L.H. (WELDED)

4

209-70-54131

PLATE,R.H. (WELDED)

5

209-944-1220

ADAPTER (WELDED)

6

209-72-14150

POINT

7

209-72-14160

PIN

8

209-72-14170

LOCK

9

209-70-54171

COVER

10

01010-82480

BOLT

11

01643-32460

WASHER

12

209-70-54160

BUSHING

13

209-70-00082

SHIM ASS'Y

|13

SHIM¤ 0.5MM

|13

SHIM¤ 1.0MM

Выбрано товаров: 15