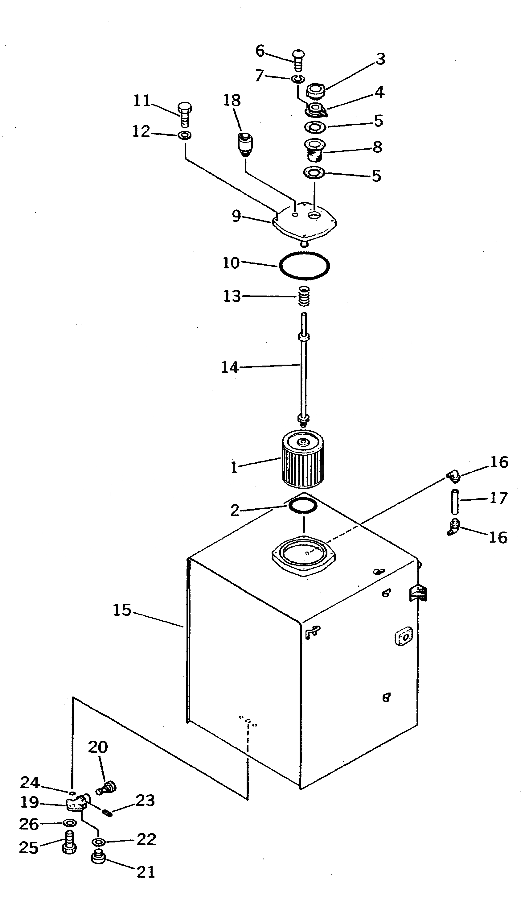
Запчасти Komatsu PC650LC-5 ГИДР. БАК. (БАК) ГИДРАВЛИКА

Схема запчастей Komatsu PC650LC-5 - ГИДР. БАК. (БАК) ГИДРАВЛИКА
FIT
1:1
100%

Артикул

Название

Примечание

Количество

1

209-60-51120

STRAINER

2

21N-09-11140

O-RING

3

209-60-51180

CAP

4

201-60-12171

FILLER

5

205-60-66211

GASKET

|5

205-60-51460

GASKET

6

01220-40516

SCREW

7

01601-20513

WASHER

8

205-60-51480

SCREEN

9

209-60-51161

COVER

10

07000-05230

O-RING

11

01010-51235

BOLT

12

01643-31232

WASHER

13

12R-60-11230

SPRING

14

209-60-11131

SUPPORT

|15

209-60-00110

HYDRAULIC TANK ASS'Y

15

209-60-51112

TANK

16

203-60-31100

ELBOW ASS'Y

17

203-60-31160

TUBE

18

424-U40-1120

BREATHER

|19

155-60-12500

VALVE ASS'Y

19

155-60-12510

BODY

20

155-60-12520

VALVE

21

07040-12412

PLUG

22

07005-02416

GASKET

23

04025-00532

PIN

24

07000-03025

O-RING

25

01010-51025

BOLT

26

01643-31032

WASHER

Выбрано товаров: 29