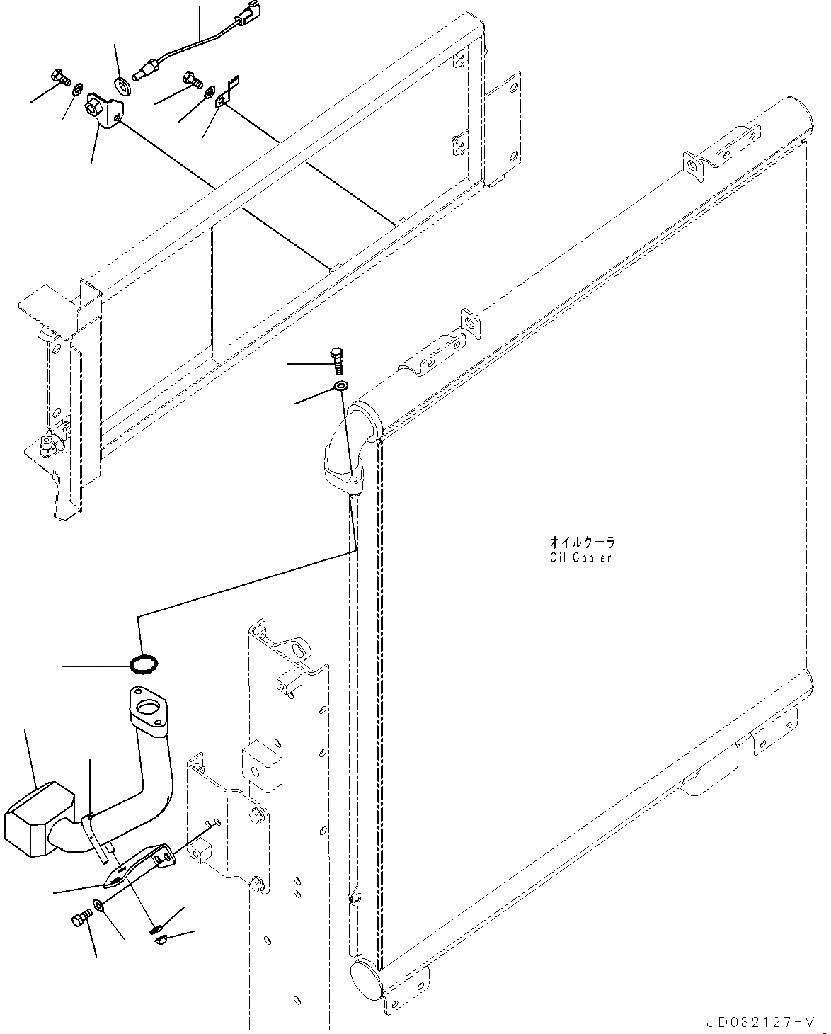
Запчасти Komatsu PC650LC-8E0 СИСТЕМА ОХЛАЖДЕНИЯ, ДЛЯ ПРОТИВОВЕС REMOVER, ДАТЧИК И МАСЛООХЛАДИТЕЛЬ ТРУБКА (№-) СИСТЕМА ОХЛАЖДЕНИЯ, ДЛЯ ПРОТИВОВЕС REMOVER

Схема запчастей Komatsu PC650LC-8E0 - СИСТЕМА ОХЛАЖДЕНИЯ, ДЛЯ ПРОТИВОВЕС REMOVER, ДАТЧИК И МАСЛООХЛАДИТЕЛЬ ТРУБКА (№-) СИСТЕМА ОХЛАЖДЕНИЯ, ДЛЯ ПРОТИВОВЕС REMOVER
10
3
1
4
5
5
4
7
9
8
11
13
12
14
16
15
6
2
FIT
1:1
100%

Артикул

Название

Примечание

Количество

1

21M-03-21611

Bracket

2

7861-93-3520

Sensor, Temperature

3

08193-20010

Clip

4

01010-81025

Bolt

5

01643-31032

Washer

6

01643-31645

Washer

7

21M-03-31480

Tube

8

01010-81245

Bolt

9

01643-31232

Washer

10

07000-13045

O-ring

11

21M-03-21490

Bracket

12

01010-81025

Bolt

13

01643-31032

Washer

14

07283-34949

Clip

15

01597-01009

Nut

16

01643-31032

Washer

Выбрано товаров: 16