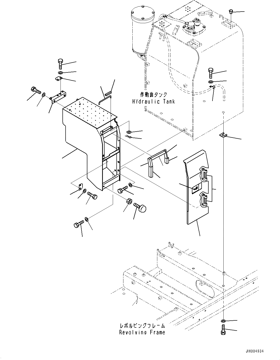
Запчасти Komatsu PC650LC-8E0 ГИДР. БАК., ДВЕРЬ КРЫШКА(№-) ГИДР. БАК., PROVISION ДЛЯ -АКТУАТОР

Схема запчастей Komatsu PC650LC-8E0 - ГИДР. БАК., ДВЕРЬ КРЫШКА(№-) ГИДР. БАК., PROVISION ДЛЯ -АКТУАТОР
15
3
24
23
14
4
1
15
14
11
12
14
15
11
14
15
10
21
16
20
13
6
9
19
18
17
8
7
5
2
28
22
26
27
25
FIT
1:1
100%

Артикул

Название

Примечание

Количество

1

209-54-45421

Cover

2

20Y-54-71372

Lock,Welded

3

21M-54-11220

Hinge,Welded

4

21M-54-33410

Case

5

209-53-13540

Sheet

6

209-53-13550

Sheet

7

209-53-13560

Sheet

8

209-53-13580

Sheet

9

209-54-43320

Sheet

10

209-54-45440

Sheet

11

21M-54-11771

Plate

12

21M-54-21631

Bracket

13

20Y-54-11611

Stopper

14

01010-81230

Bolt

15

01643-31232

Washer

16

01580-11008

Nut

17

175-43-41261

Rod

18

01643-30623

Washer

19

04050-11612

Pin, Cotter

20

01010-81230

Bolt

21

01643-31232

Washer

22

07049-01215

Plug

23

01010-82045

Bolt

24

01643-32060

Washer

25

04434-52312

Clip

26

01010-81225

Bolt

27

01643-31232

Washer

28

419-70-13180

Shim, T=1.0mm

Выбрано товаров: 28