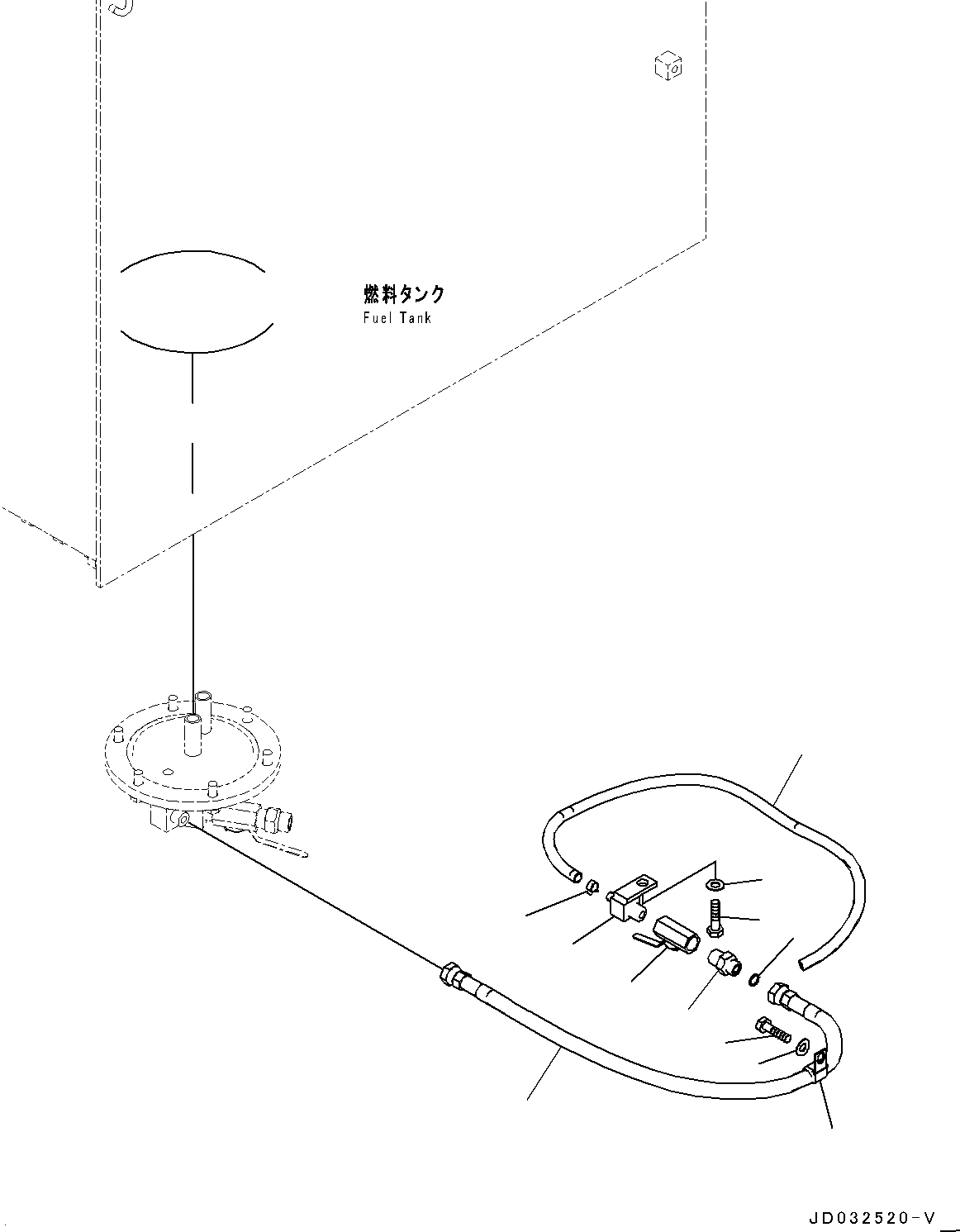
Запчасти Komatsu PC650LC-8E0 ТОПЛИВН. ПОДАЮЩ. ТРУБЫ, ТОПЛИВН. ДРЕНАЖН. (№-) ТОПЛИВН. ПОДАЮЩ. ТРУБЫ

Схема запчастей Komatsu PC650LC-8E0 - ТОПЛИВН. ПОДАЮЩ. ТРУБЫ, ТОПЛИВН. ДРЕНАЖН. (№-) ТОПЛИВН. ПОДАЮЩ. ТРУБЫ
7
2
1
5
10
9
8
11
12
6
3
4
FIT
1:1
100%

Артикул

Название

Примечание

Количество

1

07700-40460

Valve, Fuel Drain

2

21M-04-31141

Nipple

3

01010-81230

Bolt

4

01643-31232

Washer

5

8255-62-4591

Connector

6

02896-11012

O-ring

7

02762-00408

Hose, Face Seal Type

8

07270-01295

Tube

9

07285-00130

Clip

10

04434-51912

Clip

11

01010-81225

Bolt

12

01643-31232

Washer

Выбрано товаров: 12