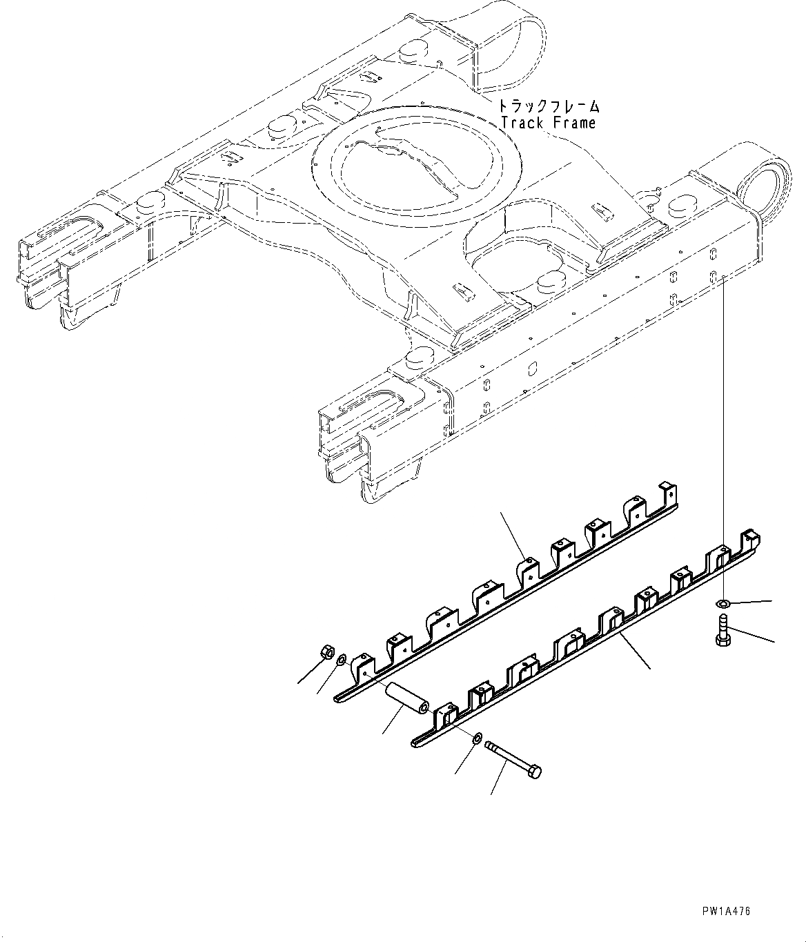
Запчасти Komatsu PC650LC-8E0 ГУСЕНИЧНАЯ РАМА, ОПОРНЫЙ КАТОК ПОЛН. ЗАЩИТА, ЛЕВ. (№-) ГУСЕНИЧНАЯ РАМА, С ПОЛН. LENGTH ЗАЩИТА ОПОРНЫХ КАТКОВ

Схема запчастей Komatsu PC650LC-8E0 - ГУСЕНИЧНАЯ РАМА, ОПОРНЫЙ КАТОК ПОЛН. ЗАЩИТА, ЛЕВ. (№-) ГУСЕНИЧНАЯ РАМА, С ПОЛН. LENGTH ЗАЩИТА ОПОРНЫХ КАТКОВ
3
4
3
5
2
6
8
7
1
FIT
1:1
100%

Артикул

Название

Примечание

Количество

1

21M-30-12360

Guard

2

21M-30-12370

Guard

3

01643-32460

Washer

4

17M-30-11330

Spacer

5

17M-30-11340

Bolt

6

01580-12419

Nut

7

01010-82760

Bolt

8

01643-32780

Washer

Выбрано товаров: 8