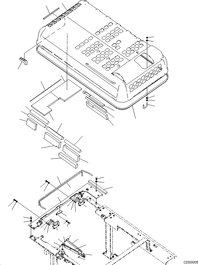
Запчасти Komatsu PC650LC-8E0 КАПОТ M [ЧАСТИ КОРПУСАS И КРЫШКИ]

Схема запчастей Komatsu PC650LC-8E0 - КАПОТ M [ЧАСТИ КОРПУСАS И КРЫШКИ]
13
12
3
10
10
16
42
17
15
19
20
11
14
6
8
9
7
5
24
20
19
4
1
18
40
41
22
25
21
35
34
37
36
36
23
28
33
30
29
32
26
27
30
2
32
31
36
36
37
39
38
35
34
2
FIT
1:1
100%

Артикул

Название

Примечание

Количество

1

21M-54-D1211XC

HOOD

2

21M-54-D1230

HINGE

3

21M-54-D1130

SHEET

4

21M-54-D1140

SHEET

5

21M-54-22921

SHEET

6

21M-54-22931

SHEET

7

21M-54-D1151

SHEET

8

21M-54-D1160

SHEET

9

21M-54-22950

SHEET

10

21M-54-23310

SHEET

11

21M-54-23320

SHEET

12

21M-54-D1170

SHEET

13

21M-54-D1180

SHEET

14

21M-54-23420

SHEET

15

207-54-61270

U-BOLT

16

22U-43-D1550

TRIM

17

207-54-Z2130

SEAL

18

207-54-Z2140

SEAL

19

01580-11613

NUT

20

01643-31645

WASHER

21

21M-54-31230

FRAME

22

21M-54-31240

SHEET

23

20Y-54-27360

BRACKET

24

21M-54-18730

SPRING

25

21M-54-18740

SPRING

26

01010-81240

BOLT

27

01643-31232

WASHER

28

207-54-72150

STAY

29

20Y-54-27290

STAY

30

04205-31230

PIN

31

04205-31238

PIN

32

04052-01253

PIN

33

04052-01253

PIN

34

01010-81240

BOLT

35

01643-31232

WASHER

36

21M-54-31250

SHIM

37

21M-54-31260

SHIM

38

01010-81230

BOLT

39

01643-31232

WASHER

40

01010-81260

BOLT

Выбрано товаров: 40