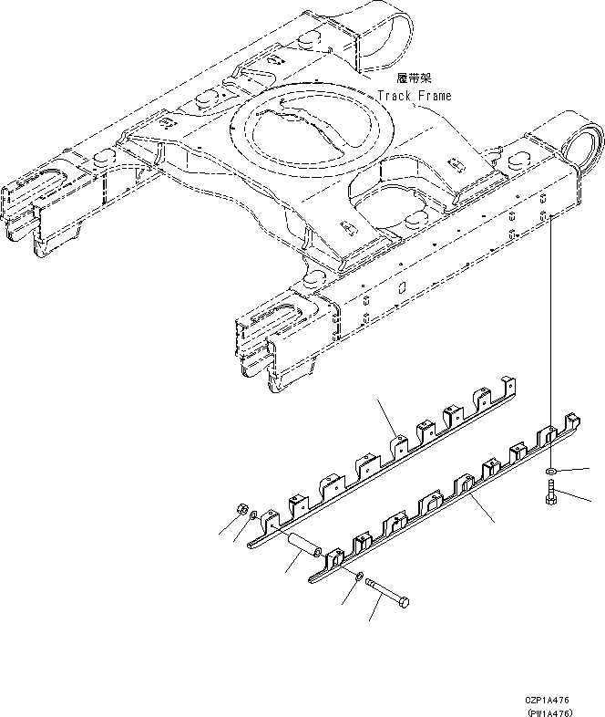
Запчасти Komatsu PC650LC-8E0 ГУСЕНИЧНАЯ РАМА (С ПОЛН. LENGTH ЗАЩИТА ОПОРНЫХ КАТКОВ) (ОПОРНЫЙ КАТОК ПОЛН. ЗАЩИТА, ЛЕВ.) R [НИЖН.CARRIAGE]

Схема запчастей Komatsu PC650LC-8E0 - ГУСЕНИЧНАЯ РАМА (С ПОЛН. LENGTH ЗАЩИТА ОПОРНЫХ КАТКОВ) (ОПОРНЫЙ КАТОК ПОЛН. ЗАЩИТА, ЛЕВ.) R [НИЖН.CARRIAGE]
3
4
3
5
2
6
8
7
1
FIT
1:1
100%

Артикул

Название

Примечание

Количество

1

21M-30-12360

GUARD(L.H.)

2

21M-30-12370

GUARD(R.H.)

3

01643-32460

WASHER

4

17M-30-11330

SPACER

5

17M-30-11340

BOLT

6

01580-12419

NUT

7

01010-82760

BOLT

8

01643-32780

WASHER

Выбрано товаров: 8