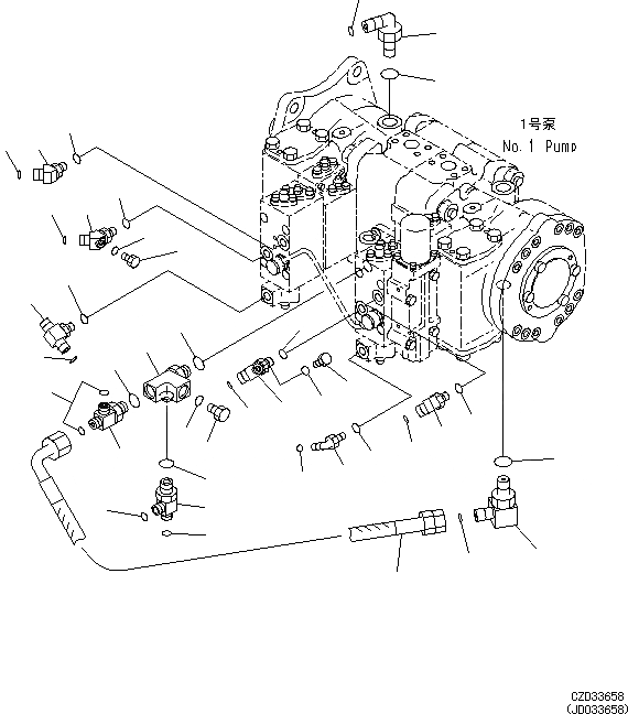
Запчасти Komatsu PC650LC-8E0 ПОРШЕНЬ НАСОС (КОМПОНЕНТЫ) H [ГИДРАВЛИКА]

Схема запчастей Komatsu PC650LC-8E0 - ПОРШЕНЬ НАСОС (КОМПОНЕНТЫ) H [ГИДРАВЛИКА]
15
9
1
25
2
4
3
24
26
23
21
17
17
14
8
19
18
19
16
22
21
22
10
21
22
5
5
21
22
18
4
3
20
20
7
6
5
11
12
13
FIT
1:1
100%

Артикул

Название

Примечание

Количество

1

20Y-62-15660

ADAPTER

2

07002-12034

O-RING

3

19M-61-35140

TEE

4

07002-12034

O-RING

5

02896-11009

O-RING

6

07040-12012

PLUG

7

07002-12034

O-RING

8

02782-10311

ELBOW

9

07002-11423

O-RING

10

02896-11009

O-RING

11

02782-10628

ELBOW

12

07002-12434

O-RING

13

02896-11018

O-RING

14

21W-62-42630

TEE

15

07002-11423

O-RING

16

02896-11009

O-RING

17

11Y-62-12510

ELBOW

18

21M-62-21520

ELBOW

19

07040-11007

PLUG

20

07002-11023

O-RING

21

07002-11423

O-RING

22

02896-11009

O-RING

23

209-64-16910

ELBOW

24

02896-11009

O-RING

25

07002-12434

O-RING

26

02761-003A4

HOSE

Выбрано товаров: 26