Запчасти Komatsu PC650SE-3 УПРАВЛ-Е СТОЙКА¤ ЛЕВ. (СПЕЦ-Я TBG) СИСТЕМА УПРАВЛЕНИЯ И ОСНОВНАЯ РАМА

Схема запчастей Komatsu PC650SE-3 - УПРАВЛ-Е СТОЙКА¤ ЛЕВ. (СПЕЦ-Я TBG) СИСТЕМА УПРАВЛЕНИЯ И ОСНОВНАЯ РАМА
FIT
1:1
100%

Артикул

Название

Примечание

Количество

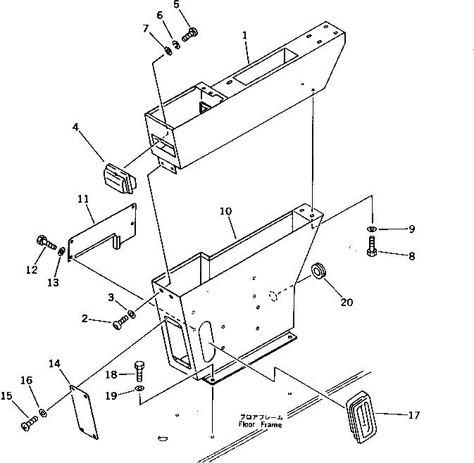
1

209-43-51320

BOX,L.H.

2

209-43-51630

SCREW

3

209-43-51640

WASHER

4

205-54-72240

ASHTRAY

5

01220-40408

SCREW

6

01601-20410

WASHER,SPRING

7

01642-20405

WASHER

8

01010-51020

BOLT

9

01643-31032

WASHER

G-1

209-54-X2200

TBG SPEC. GROUP

10

209-43-51881

CASE

10

209-43-51880

CASE

11

209-43-51870

COVER

12

01010-50820

BOLT

13

01643-30823

WASHER

14

209-43-51370

COVER

15

205-43-71280

SCREW

16

205-43-73420

WASHER

17

205-43-72480

COVER

18

01010-51225

BOLT

19

01643-31232

WASHER

20

207-54-16860

GROMMET

Выбрано товаров: 22