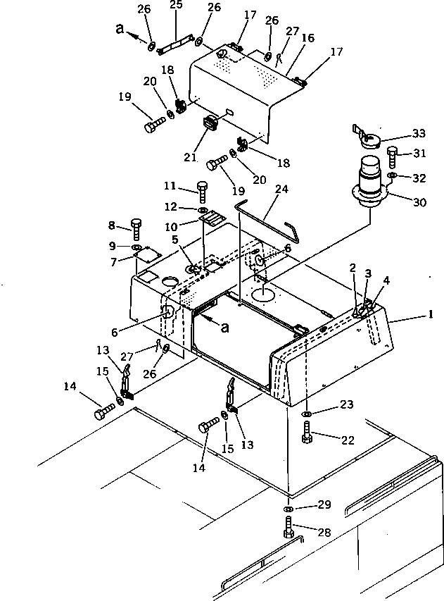
Запчасти Komatsu PC650SE-3 КАПОТ AND ВЫХЛОПНАЯ ТРУБА ЧАСТИ КОРПУСА

Схема запчастей Komatsu PC650SE-3 - КАПОТ AND ВЫХЛОПНАЯ ТРУБА ЧАСТИ КОРПУСА
FIT
1:1
100%

Артикул

Название

Примечание

Количество

1

209-54-53112

HOOD

2

209-54-56180

SEAL

3

209-54-56190

SEAL

4

209-54-56210

SEAL

5

209-54-56441

SEAL

5

209-54-56440

SEAL

6

209-54-56451

SEAL

6

209-54-56450

SEAL

7

209-54-53140

COVER

8

01010-51230

BOLT

9

01643-31232

WASHER

10

209-54-53130

COVER

11

01010-51220

BOLT

11

01010-51230

BOLT

12

01643-31232

WASHER

13

205-54-76530

CATCHER

14

01010-50825

BOLT

15

01643-30823

WASHER

16

209-54-53121

COVER

17

205-54-64160

HINGE (WELDED)

18

205-54-67660

SUPPORT

19

01010-50825

BOLT

20

01643-30823

WASHER

21

209-54-12280

HANDLE

22

01010-51230

BOLT

23

01643-31232

WASHER

24

208-54-12210

BAR,TORSION

25

209-54-53151

STAY

26

01643-31645

WASHER

27

04050-14028

PIN,COTTER

28

01010-51230

BOLT

29

01643-31232

WASHER

30

6212-11-5562

PIPE,EXHAUST

30

6212-11-5561

PIPE,EXHAUST

31

01010-51230

BOLT

32

01643-31232

WASHER

33

6164-12-5900

CAP,RAIN

Выбрано товаров: 37