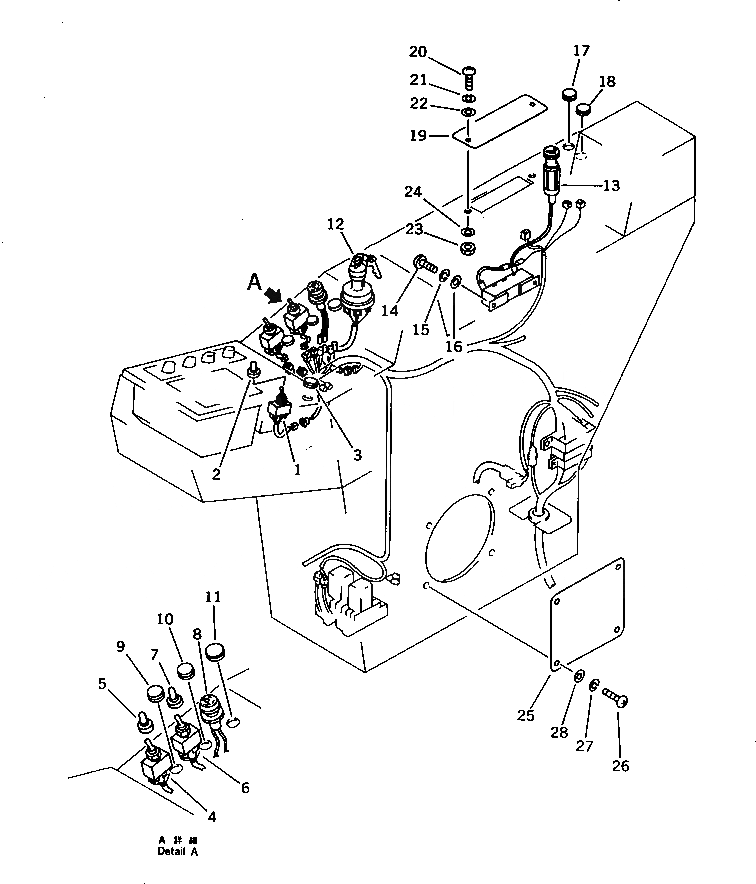
Запчасти Komatsu PC650SE-3 ПАНЕЛЬ ПРИБОРОВ (/) (КРОМЕ ЯПОН.) КОМПОНЕНТЫ ДВИГАТЕЛЯ И ЭЛЕКТРИКА

Схема запчастей Komatsu PC650SE-3 - ПАНЕЛЬ ПРИБОРОВ (/) (КРОМЕ ЯПОН.) КОМПОНЕНТЫ ДВИГАТЕЛЯ И ЭЛЕКТРИКА
FIT
1:1
100%

Артикул

Название

Примечание

Количество

1

209-06-51330

SWITCH ASS'Y

2

203-06-41610

CAP

3

09415-01610

CAP

4

207-06-31240

WIRING HARNESS

5

203-06-41610

CAP

6

209-06-51690

SWITCH ASS'Y

7

203-06-41680

CAP

8

205-06-64540

LAMP,CAUTION

9

09415-00706

CAP

10

09415-00706

CAP

11

09415-01610

CAP

12

209-06-51430

SWITCH ASS'Y

13

195-822-6151

LIGHTER

14

01220-40408

SCREW

15

01601-20410

WASHER,SPRING

16

01641-20405

WASHER

17

09415-00706

CAP

18

09415-00706

CAP

19

203-06-31160

PLATE

20

01220-70412

SCREW

21

205-06-62180

WASHER,SPRING

22

205-06-62190

WASHER

23

01580-10403

NUT

24

145-Z79-6630

WASHER

25

205-06-72181

COVER

26

01220-40410

SCREW

27

01601-20410

WASHER,SPRING

28

01641-20405

WASHER

Выбрано товаров: 28