Запчасти Komatsu PC650SE-3 FOPS (ДЛЯ НИЗ. КАБИНА)(№8-) ЧАСТИ КОРПУСА

Схема запчастей Komatsu PC650SE-3 - FOPS (ДЛЯ НИЗ. КАБИНА)(№8-) ЧАСТИ КОРПУСА
FIT
1:1
100%

Артикул

Название

Примечание

Количество

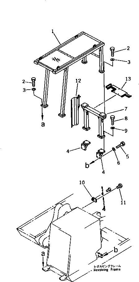
G-1

209-956-X101

FOPS GROUP

1

209-956-5211

GUARD

2

01010-51640

BOLT

3

01643-31645

WASHER

4

209-956-5130

BRACKET

5

01010-51640

BOLT

6

01643-31645

WASHER

7

209-956-5110

GUARD

8

01010-51640

BOLT

9

01643-31645

WASHER

10

209-956-5150

PLATE

11

01220-40420

SCREW

12

209-956-5251

BRACKET

12

209-956-5250

BRACKET

13

209-956-5260

COVER

Выбрано товаров: 15