Запчасти Komatsu PC650SE-3 АНТИОБЛЕДЕНИТЕЛЬ(№8-) ЧАСТИ КОРПУСА

Схема запчастей Komatsu PC650SE-3 - АНТИОБЛЕДЕНИТЕЛЬ(№8-) ЧАСТИ КОРПУСА
FIT
1:1
100%

Артикул

Название

Примечание

Количество

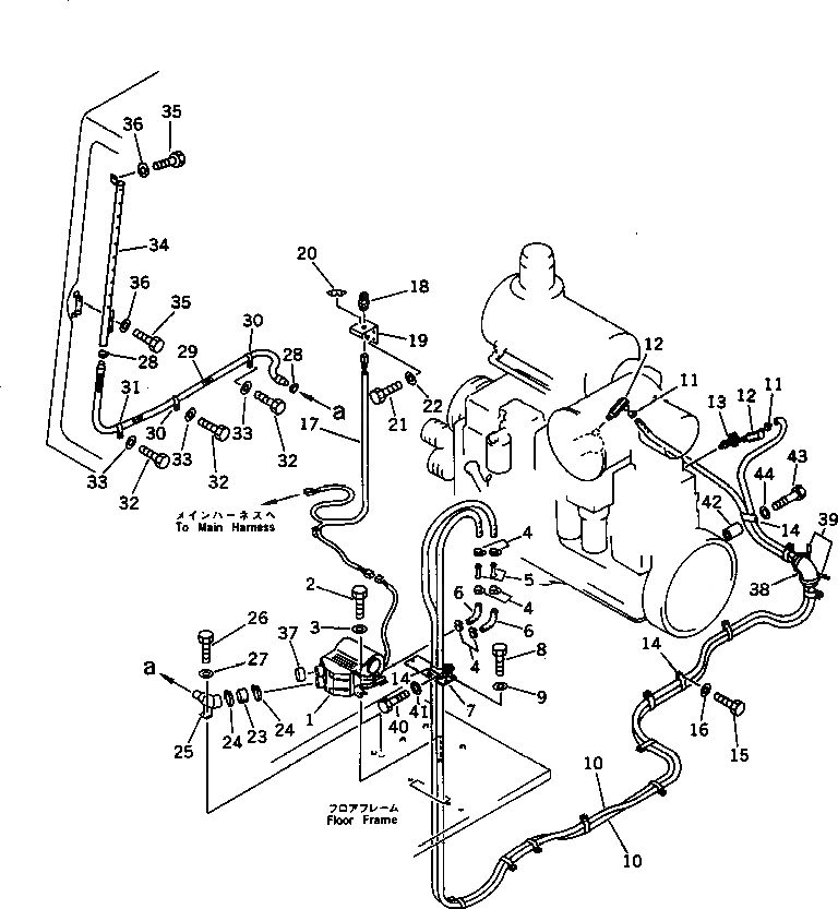
G-1

209-977-X100

DEFROSTER GROUP

1

205-977-7180

HEATER UNIT

2

01010-51020

BOLT

3

01643-31032

WASHER

4

09480-10100

CLAMP

4

07281-00259

CLAMP

5

09484-00450

CONNECTOR

6

09483-20450

HOSE

7

209-977-5111

PLATE

8

01010-51025

BOLT

9

01643-51032

WASHER

10

09483-00477

HOSE

11

09480-10100

CLAMP

11

07281-00259

CLAMP

12

202-981-1340

JOINT

13

09482-40000

VALVE

14

141-06-11220

CLIP

14

141-06-11220

CLIP

15

01010-51225

BOLT

16

01643-31232

WASHER

17

209-977-5140

WIRING HARNESS

18

205-06-71321

SWITCH

19

209-977-5120

BRACKET

20

209-977-5130

PLATE

21

01010-50816

BOLT

22

01643-30823

WASHER

23

198-911-5290

HOSE

24

07281-00709

CLAMP

25

209-977-5210

DUCT

26

01010-51025

BOLT

27

01643-31032

WASHER

28

07281-00419

CLAMP

29

09485-03717

HOSE

30

113-899-7950

CLIP

31

155-911-1790

CLIP

32

01010-51020

BOLT

33

01643-31032

WASHER

34

205-977-7220

NOZZLE

35

01010-51020

BOLT

36

01643-31032

WASHER

37

205-977-7190

CAP

38

205-62-53780

COVER

39

08034-00536

BAND

40

01010-51025

BOLT

41

01643-31032

WASHER

42

150-952-8180

SPACER

43

01010-51085

BOLT

44

01643-31032

WASHER

Выбрано товаров: 48