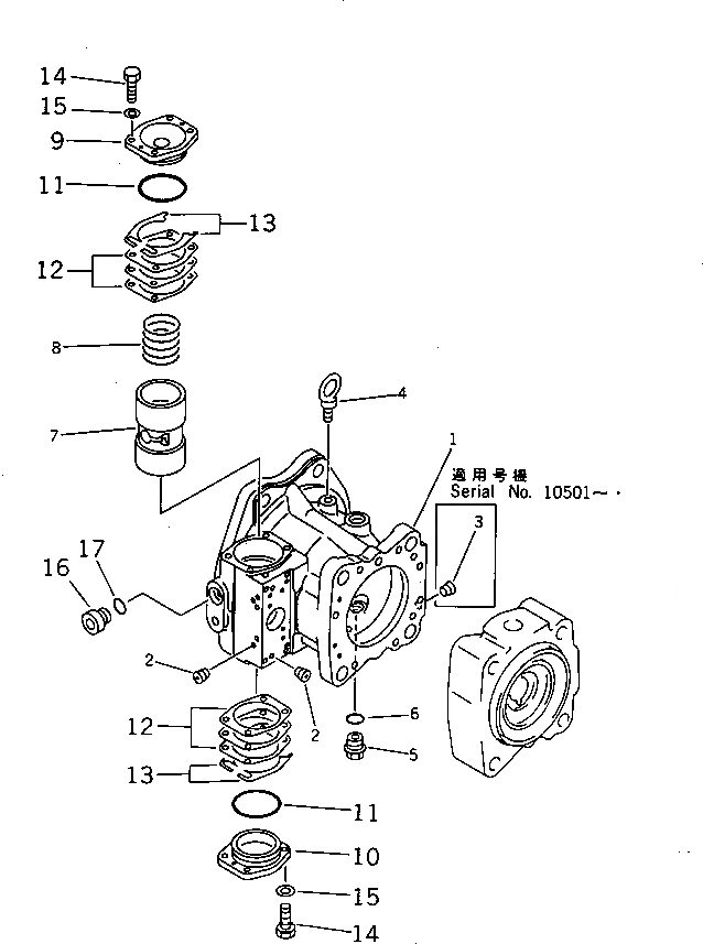
Запчасти Komatsu PC650SE-3 ГИДР. НАСОС.¤ ПОВОРОТН. (НАСОС /) (/7) УПРАВЛ-Е РАБОЧИМ ОБОРУДОВАНИЕМ

Схема запчастей Komatsu PC650SE-3 - ГИДР. НАСОС.¤ ПОВОРОТН. (НАСОС /) (/7) УПРАВЛ-Е РАБОЧИМ ОБОРУДОВАНИЕМ
FIT
1:1
100%

Артикул

Название

Примечание

Количество

|$0

708-17-01031

PUMP ASS'Y

|$1

708-17-01030

PUMP ASS'Y (HPV 160)

|$2

708-17-10100

PUMP ASS'Y (HPV 160)

|$4

708-17-01140

PUMP SUB ASS'Y

|$5

708-17-01110

PUMP SUB ASS'Y

|$6

708-17-21100

PUMP SUB ASS'Y

|$8

708-27-00240

CASE ASS'Y

|$9

708-27-00170

CASE ASS'Y

1

CASE

1

CASE

2

PLUG

3

PLUG

4

04530-11222

BOLT,EYE

5

07044-12412

PLUG

6

07002-02434

O-RING

7

708-27-14110

PISTON

8

708-27-14130

SPRING

9

708-27-14150

CAP

10

708-27-14140

CAP

11

07000-02075

O-RING

12

708-27-05060

SHIM KIT

12

SHIM, 0.1MM

12

SHIM, 0.2MM

12

SHIM, 0.5MM

13

708-27-14190

SHIM, 0.1MM

14

01016-51045

BOLT

14

01010-51030

BOLT

15

01643-31032

WASHER

16

07040-12414

PLUG

17

07002-02434

O-RING

Выбрано товаров: 30