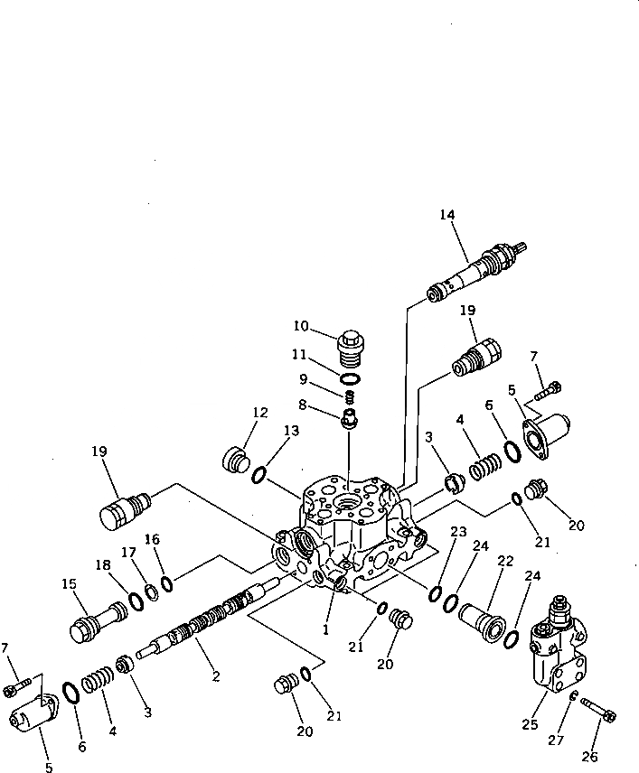
Запчасти Komatsu PC650SE-3 ПОВОРОТН. УПРАВЛЯЮЩ. КЛАПАН (/) УПРАВЛ-Е РАБОЧИМ ОБОРУДОВАНИЕМ

Схема запчастей Komatsu PC650SE-3 - ПОВОРОТН. УПРАВЛЯЮЩ. КЛАПАН (/) УПРАВЛ-Е РАБОЧИМ ОБОРУДОВАНИЕМ
FIT
1:1
100%

Артикул

Название

Примечание

Количество

|$0

700-91-36000

VALVE ASS'Y

1

BODY

2

SPOOL

3

709-94-91130

RETAINER

4

709-94-91120

SPRING

5

709-94-91210

CASE

6

07430-71380

O-RING

7

01252-30820

BOLT

8

700-93-11461

VALVE,CHECK

9

700-93-11471

SPRING

10

700-93-11481

PLUG

11

07002-13634

O-RING

12

07040-13618

PLUG

13

07002-13634

O-RING

14

700-92-55000

RELIEF VALVE ASS'Y

15

700-93-11310

PLUG

16

700-93-11320

O-RING

17

700-93-11330

RING,BACK-UP

18

07002-03634

O-RING

19

700-90-62000

VALVE ASS'Y

20

700-22-11370

PLUG

21

07002-02434

O-RING

22

700-93-12680

FLANGE

23

07000-03032

O-RING

24

07000-03035

O-RING

25

700-90-99000

VALVE ASS'Y

26

01252-31065

BOLT

27

01602-21030

WASHER,SPRING

Выбрано товаров: 28