Запчасти Komatsu PC650SE-3 ХОД КЛАПАН PPCTO/FROM PPC КОНТРОЛЬНЫЙ КЛАПАНТРУБЫ (ДЛЯ НИЗ. КАБИНА) УПРАВЛ-Е РАБОЧИМ ОБОРУДОВАНИЕМ

Схема запчастей Komatsu PC650SE-3 - ХОД КЛАПАН PPCTO/FROM PPC КОНТРОЛЬНЫЙ КЛАПАНТРУБЫ (ДЛЯ НИЗ. КАБИНА) УПРАВЛ-Е РАБОЧИМ ОБОРУДОВАНИЕМ
FIT
1:1
100%

Артикул

Название

Примечание

Количество

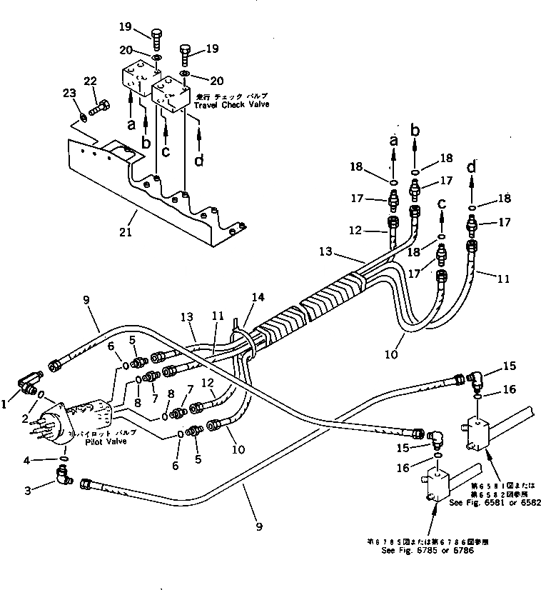
1

209-62-57641

ELBOW

2

07002-03034

O-RING

3

07235-10315

ELBOW

4

07002-02034

O-RING

5

07230-20315

UNION

5

07230-10315

UNION

6

07002-02034

O-RING

7

209-62-57650

UNION

8

07002-02034

O-RING

G-1

209-54-X3000

LOW MOUNT GROUP

9

07102-20308

HOSE

|$12

209-62-57810

HOSE ASS'Y

10

07102-20327

HOSE (E)

11

07102-20327

HOSE (F)

12

07102-20327

HOSE (G)

13

07102-20327

HOSE (H)

14

08034-00519

BAND

15

07235-10315

ELBOW

16

07002-02034

O-RING

17

209-62-57740

UNION

18

07002-02034

O-RING

19

01010-51075

BOLT

20

01643-31032

WASHER

21

209-62-57770

BRACKET

22

01010-51235

BOLT

23

01643-31232

WASHER

Выбрано товаров: 26