Запчасти Komatsu PC650SE-3 АККУМУЛЯТОР (КРОМЕ ЯПОН.) УПРАВЛ-Е РАБОЧИМ ОБОРУДОВАНИЕМ

Схема запчастей Komatsu PC650SE-3 - АККУМУЛЯТОР (КРОМЕ ЯПОН.) УПРАВЛ-Е РАБОЧИМ ОБОРУДОВАНИЕМ
FIT
1:1
100%

Артикул

Название

Примечание

Количество

|$0

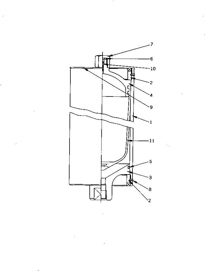
209-60-12820

ACCUMULATOR ASS'Y

1

209-60-13330

BODY

2

209-60-13340

NUT

3

209-60-13350

OIL PORT

4

209-60-13360

CAP

5

209-60-13370

O-RING

6

209-60-13380

WASHER

7

209-60-13390

CAP

8

209-60-13410

PIN

9

209-60-13420

PLATE

10

209-60-13430

CORE

11

209-60-13440

BLEEDER

Выбрано товаров: 12