Запчасти Komatsu PC650SE-3 ВОЗДУХОВОД (/) УПРАВЛ-Е РАБОЧИМ ОБОРУДОВАНИЕМ

Схема запчастей Komatsu PC650SE-3 - ВОЗДУХОВОД (/) УПРАВЛ-Е РАБОЧИМ ОБОРУДОВАНИЕМ
FIT
1:1
100%

Артикул

Название

Примечание

Количество

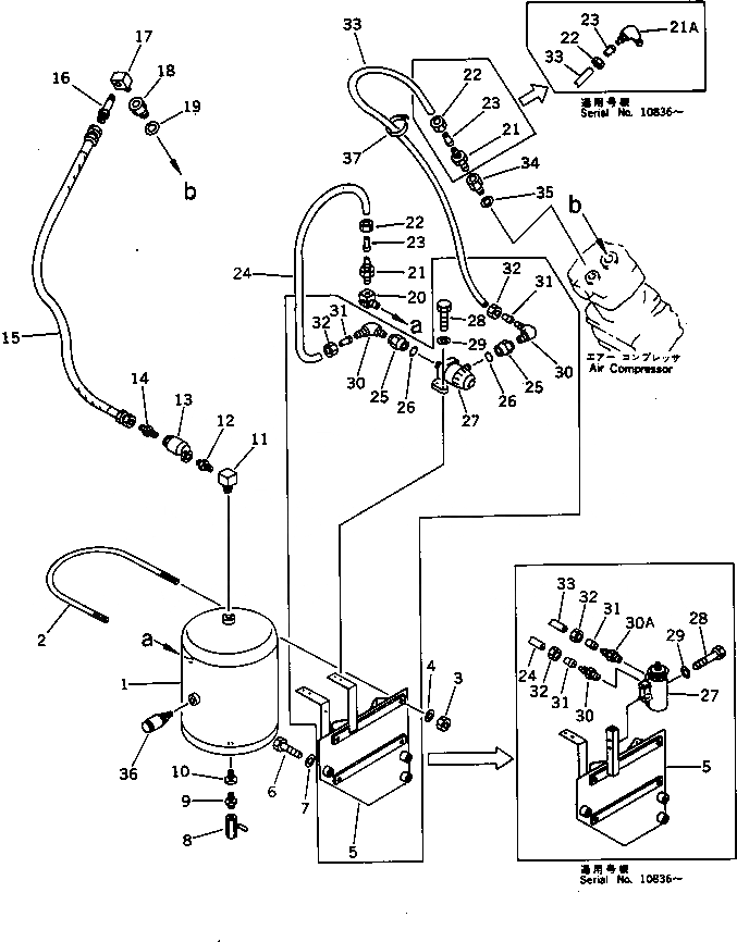
1

205-68-51170

TANK,AIR

2

205-68-51120

U-BOLT

3

01599-01214

NUT

4

01643-31232

WASHER

5

209-68-51122

BRACKET

5

209-68-51121

BRACKET

6

01010-51250

BOLT

7

01643-31232

WASHER

8

07700-40240

VALVE

9

07325-10200

NIPPLE

10

07326-10402

ADAPTER

11

234-943-6620

ELBOW

12

07325-10300

NIPPLE

13

205-68-51180

VALVE,CHECK

14

07821-10801

NIPPLE

15

21T-68-11340

HOSE

16

209-68-51110

NIPPLE

17

209-68-51180

ELBOW

18

209-68-51170

NIPPLE

19

205-68-51210

GASKET

20

209-68-51140

NIPPLE

21

07836-00413

CONNECTOR

21

07836-00613

CONNECTOR

21A

07834-00413

ELBOW

22

07832-00410

NUT,SLEEVE

22

07832-00614

NUT,SLEEVE

23

07831-00411

SLEEVE

23

07831-00612

SLEEVE

24

07822-00405

TUBE

24

07822-00604

TUBE

25

205-68-51190

ADAPTER

26

07003-11217

GASKET

27

500-44-14110

AIR GOVERNOR ASS'Y

27

6131-81-3210

REGULATOR

28

01010-50875

BOLT

28

01010-50825

BOLT

29

01643-30823

WASHER

30

07836-00410

CONNECTOR

30

07834-00613

ELBOW

30A

07836-00410

CONNECTOR

31

07831-00411

SLEEVE

31

07831-00612

SLEEVE

32

07832-00410

NUT,SLEEVE

32

07832-00614

NUT,SLEEVE

33

07822-00410

TUBE

33

07822-00610

TUBE

34

209-68-51150

NIPPLE

35

07004-01525

GASKET

36

206-68-11120

VALVE ASS'Y

37

08034-00519

BAND

Выбрано товаров: 50