Запчасти Komatsu PC650SE-3 КОВШ¤ .M¤ ШИР. 8MM (ГОРИЗОНТАЛЬН. ПАЛЕЦ) (С WEAR ПЛАСТИНА) РАБОЧЕЕ ОБОРУДОВАНИЕ (ЭКСКАВАТ.)

Схема запчастей Komatsu PC650SE-3 - КОВШ¤ .M¤ ШИР. 8MM (ГОРИЗОНТАЛЬН. ПАЛЕЦ) (С WEAR ПЛАСТИНА) РАБОЧЕЕ ОБОРУДОВАНИЕ (ЭКСКАВАТ.)
FIT
1:1
100%

Артикул

Название

Примечание

Количество

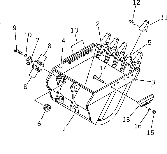
G-1

209-939-X130

BUCKET GROUP

1

209-939-5130

BUCKET

2

209-939-5160

PLATE (WELDED)

3

209-939-5320

PLATE (WELDED)

4

209-939-5330

PLATE (WELDED)

5

20914-70-128

ADAPTER (WELDED)

6

209-939-5410

BUSHING

7

209-939-5420

COVER

8

209-939-0011

SHIM ASS'Y

8

SHIM, 0.5MM

8

SHIM, 1.0MM

9

01010-82480

BOLT

10

01643-32460

WASHER

11

209-70-54210

TOOTH

12

209-70-54240

PIN ASS'Y

13

209-70-54610

SHROUD

14

01011-83015

BOLT

15

01580-13024

NUT

16

01643-33080

WASHER

Выбрано товаров: 19