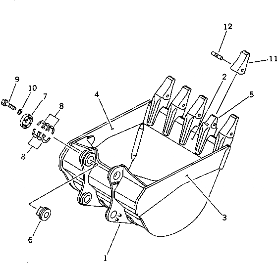
Запчасти Komatsu PC650SE-3 КОВШ¤ .M¤ ШИР. 8MM (ГОРИЗОНТАЛЬН. ПАЛЕЦ)(№-89) РАБОЧЕЕ ОБОРУДОВАНИЕ (ЭКСКАВАТ.)

Схема запчастей Komatsu PC650SE-3 - КОВШ¤ .M¤ ШИР. 8MM (ГОРИЗОНТАЛЬН. ПАЛЕЦ)(№-89) РАБОЧЕЕ ОБОРУДОВАНИЕ (ЭКСКАВАТ.)
FIT
1:1
100%

Артикул

Название

Примечание

Количество

G-1

209-939-X540

BUCKET ASS'Y

1

209-939-5540

BUCKET

2

209-939-5340

PLATE (WELDED)

3

209-939-5370

PLATE (WELDED)

4

209-939-5380

PLATE (WELDED)

5

209-70-54142

ADAPTER (WELDED)

6

209-70-54160

BUSHING

7

209-70-54171

COVER

8

209-70-00082

SHIM ASS'Y

8

SHIM, 0.5MM

8

SHIM, 1.0MM

9

01010-82480

BOLT

10

01643-32460

WASHER

11

209-70-54210

TOOTH

12

209-70-54240

PIN ASS'Y

Выбрано товаров: 15