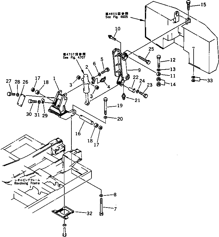
Запчасти Komatsu PC650SE-3 СЪЕМ ПРОТИВОВЕСА СИСТЕМА УПРАВЛЕНИЯ И ОСНОВНАЯ РАМА

Схема запчастей Komatsu PC650SE-3 - СЪЕМ ПРОТИВОВЕСА СИСТЕМА УПРАВЛЕНИЯ И ОСНОВНАЯ РАМА
FIT
1:1
100%

Артикул

Название

Примечание

Количество

1

209-46-51630

BRACKET

2

207-46-31550

CAP

3

207-46-31580

BUSHING

4

07020-00675

FITTING,GREASE

5

01011-82700

BOLT

6

01643-32780

WASHER

7

21T-09-11211

BOLT

8

01643-33690

WASHER

9

209-46-51640

LEVER

10

209-46-51660

PIN

11

209-46-51670

COLLAR

12

01011-51230

BOLT

13

01643-31232

WASHER

14

01580-11210

NUT

15

209-09-51190

BOLT

16

209-46-51650

SHAFT

17

01745-00120

SEAL

18

208-70-11241

BUSHING

19

176-70-46140

BOLT

20

01643-32060

WASHER

21

07020-00000

FITTING,GREASE

22

207-46-31570

PIN

23

01010-51655

BOLT

24

01643-31645

WASHER

25

209-09-51180

BOLT

26

209-46-51680

COVER

27

01010-51225

BOLT

28

01643-31232

WASHER

29

113-899-7950

CLIP

30

01010-51225

BOLT

31

01643-31232

WASHER

32

209-54-51450

COVER

33

01643-34212

WASHER

Выбрано товаров: 33