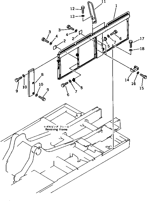
Запчасти Komatsu PC650SE-3 ЛЕВ. КРЫШКА(РАМА И HANDRAIL) ЧАСТИ КОРПУСА

Схема запчастей Komatsu PC650SE-3 - ЛЕВ. КРЫШКА(РАМА И HANDRAIL) ЧАСТИ КОРПУСА
FIT
1:1
100%

Артикул

Название

Примечание

Количество

1

209-54-53212

FRAME

|1

209-54-53211

FRAME

2

205-54-75860

BRACKET

3

01010-51025

BOLT

4

01643-31032

WASHER

5

205-54-51970

DOVE TAIL

6

01010-50616

BOLT

7

01643-30623

WASHER

8

209-54-53220

COVER

9

01010-51225

BOLT

10

01643-31232

WASHER

11

209-54-53631

HANDRAIL

12

01010-51230

BOLT

13

01643-31232

WASHER

14

209-54-54140

STEP

15

01010-51230

BOLT

16

01643-31232

WASHER

17

01010-51230

BOLT

18

01643-31232

WASHER

Выбрано товаров: 19