Запчасти Komatsu PC650SE-3 ВЫС. КРЕПЛЕНИЕ КАБИНА (ЗАДН. СДВИЖН. ОКНА ТИП) (/) ЧАСТИ КОРПУСА

Схема запчастей Komatsu PC650SE-3 - ВЫС. КРЕПЛЕНИЕ КАБИНА (ЗАДН. СДВИЖН. ОКНА ТИП) (/) ЧАСТИ КОРПУСА
FIT
1:1
100%

Артикул

Название

Примечание

Количество

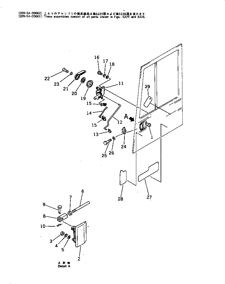
|1

209-54-00111

OPERATOR'S CAB ASS'Y

|1

209-54-00110

OPERATOR'S CAB ASS'Y

|1

21N-54-00021

DOOR ASS'Y

|1

21N-54-00020

DOOR ASS'Y

|1

209-54-00030

DOOR ASS'Y

1

205-54-71642

LOCK ASS'Y

2

205-54-72101

HANDLE ASS'Y

3

01580-10605

NUT

4

01602-20619

WASHER,SPRING

5

01641-20608

WASHER

6

205-54-76290

ROD

7

01580-10605

NUT

8

04211-20634

YOKE

9

04205-10620

PIN

10

04052-00633

PIN,SNAP

|11

205-54-71803

CONTROL ASS'Y

11

205-54-71812

CONTROL

12

205-54-71721

ROD

13

205-54-71840

SNAP

14

205-54-71822

ROD

15

205-54-71830

SNAP

16

01220-40610

SCREW

17

01602-20619

WASHER,SPRING

18

01641-20608

WASHER

19

566-54-24260

BASE

20

566-54-24270

ESCUTCHEON

21

205-54-71760

HANDLE

22

01225-40510

SCREW

23

205-54-71880

WASHER,LOCK

24

205-54-71710

LOCK ASS'Y

25

01010-50616

BOLT

26

01643-30623

WASHER

27

205-54-72481

SEAL

28

205-54-72491

SEAL

29

205-54-71780

SEAL

Выбрано товаров: 35