Запчасти Komatsu PC650SE-3 КОНДИЦ. ВОЗДУХА И ТРУБЫ (/)(№-) ЧАСТИ КОРПУСА

Схема запчастей Komatsu PC650SE-3 - КОНДИЦ. ВОЗДУХА И ТРУБЫ (/)(№-) ЧАСТИ КОРПУСА
FIT
1:1
100%

Артикул

Название

Примечание

Количество

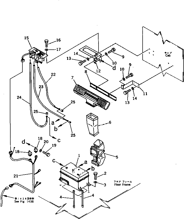
G-1

209-979-X100

AIR CONDITIONER G.

1

205-979-6110

COOLING UNIT

2

01010-51225

BOLT

3

01643-31232

WASHER

4

209-979-1250

HOSE

5

205-979-6120

DUCT

6

205-979-6140

DUCT

7

205-979-6130

DUCT

8

205-979-6171

BRACKET

9

01010-50812

BOLT

10

01643-30823

WASHER

11

205-979-1240

BRACKET

12

205-979-1250

BRACKET

13

01010-50816

BOLT

14

01643-30823

WASHER

15

205-979-6160

CONTROL ASS'Y

16

01010-50816

BOLT

17

01643-30823

WASHER

18

205-979-6460

RELAY ASS'Y

19

01010-50816

BOLT

20

01643-30823

WASHER

21

205-979-1330

WIRING HARNESS

22

205-979-1150

CABLE

23

205-979-1160

CABLE

24

205-979-1170

CABLE

25

195-979-4160

BUSHING

Выбрано товаров: 0