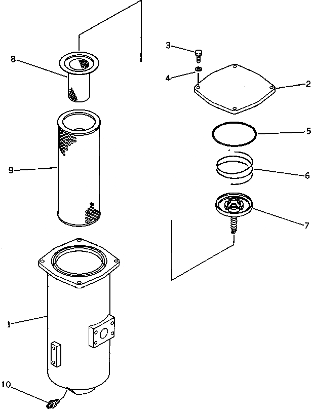
Запчасти Komatsu PC650SE-3 ОСНОВН. ФИЛЬТР. УПРАВЛ-Е РАБОЧИМ ОБОРУДОВАНИЕМ

Схема запчастей Komatsu PC650SE-3 - ОСНОВН. ФИЛЬТР. УПРАВЛ-Е РАБОЧИМ ОБОРУДОВАНИЕМ
FIT
1:1
100%

Артикул

Название

Примечание

Количество

1

209-60-52411

CASE

2

209-60-52420

COVER

3

01010-51235

BOLT

4

01643-31232

WASHER

5

07000-05180

O-RING

6

12R-60-11390

SPRING

7

12R-60-11300

VALVE ASS'Y

8

206-60-41221

STRAINER

|8

206-60-41220

STRAINER

9

07063-01210

ELEMENT

10

07238-00210

CONNECTOR

Выбрано товаров: 11